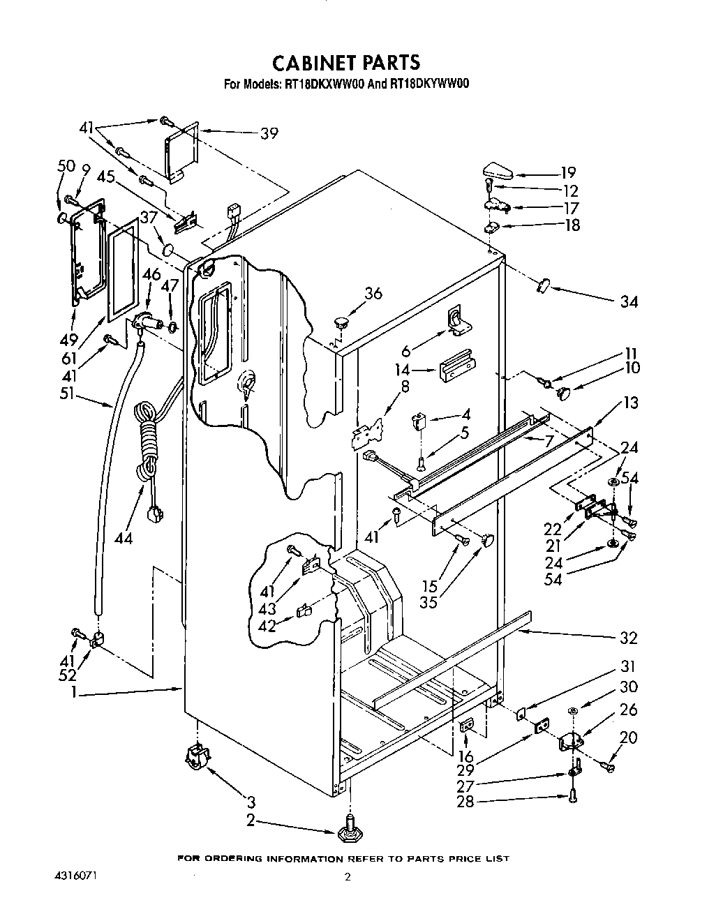
RT18DKYWW00 02 – CABINET

RT18DKYWW00 02 – CABINET