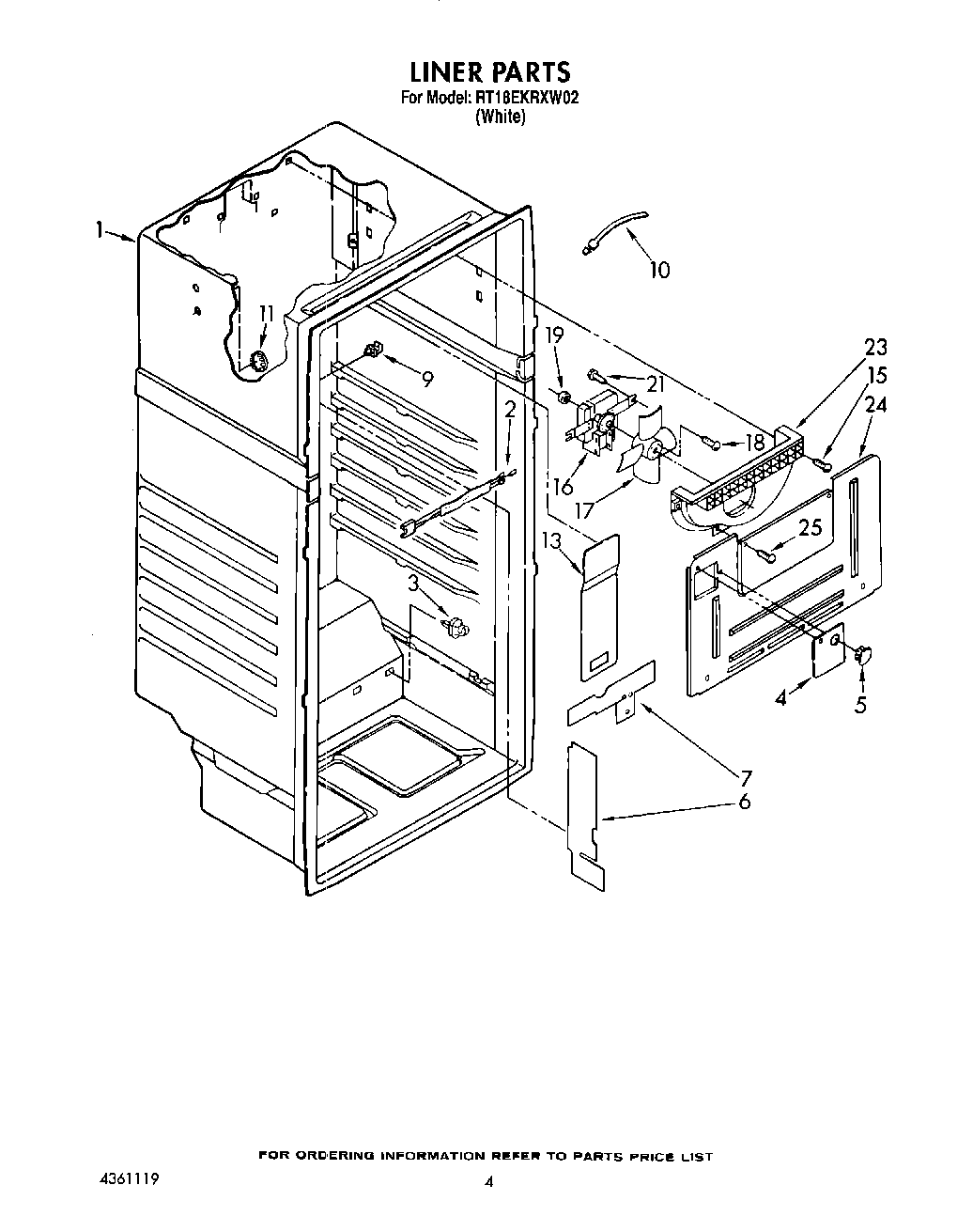
RT18EKRXW02 04 – LINER