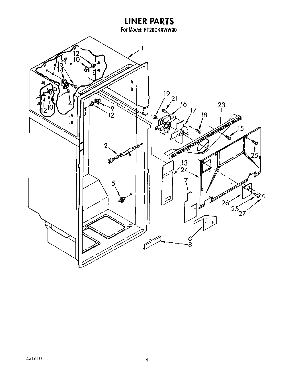
RT20CKXWW00 02 – LINER