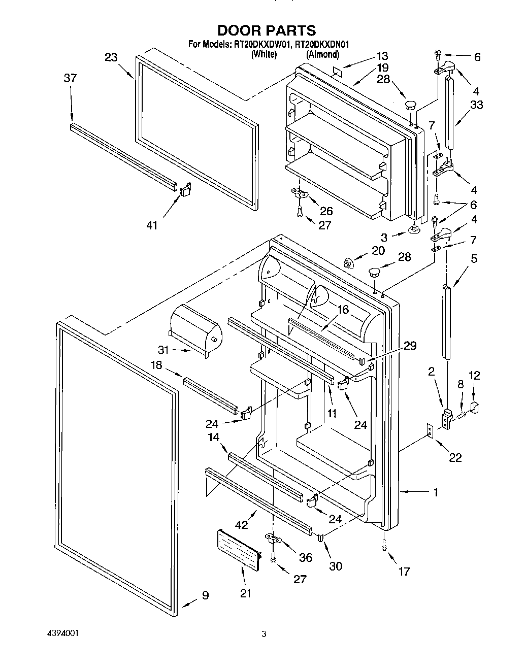
RT20DKXDW01 02 – DOOR