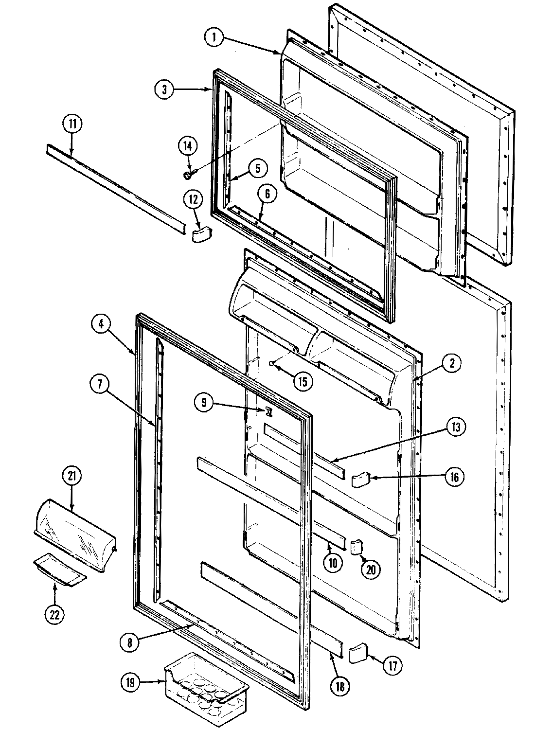
RTC1500CAL 03 – INNER DOORadmin2025-04-26T08:49:30+00:00RTC1500CAL 03 – INNER DOOR ProductsPositionProduct1MAY 69463-12MAY 69444-13MAY 70025-14MAY 70025-25MAY 69999-17MAY 69999-78MAY 69999-49WP65245-1 Whirlpool Refrigerator Retainer10MAY 67718-2311MAY 67718-2212MAY 67213-213MAY 67718-2114MAY 65275-515MAY 28272-616MAY 67210-21767211-2 Maytag Refrigerator Endcap for Door Shelf White18MAY 67718-2419MAY 67215-221MAY 69918-422MAY 29936-2