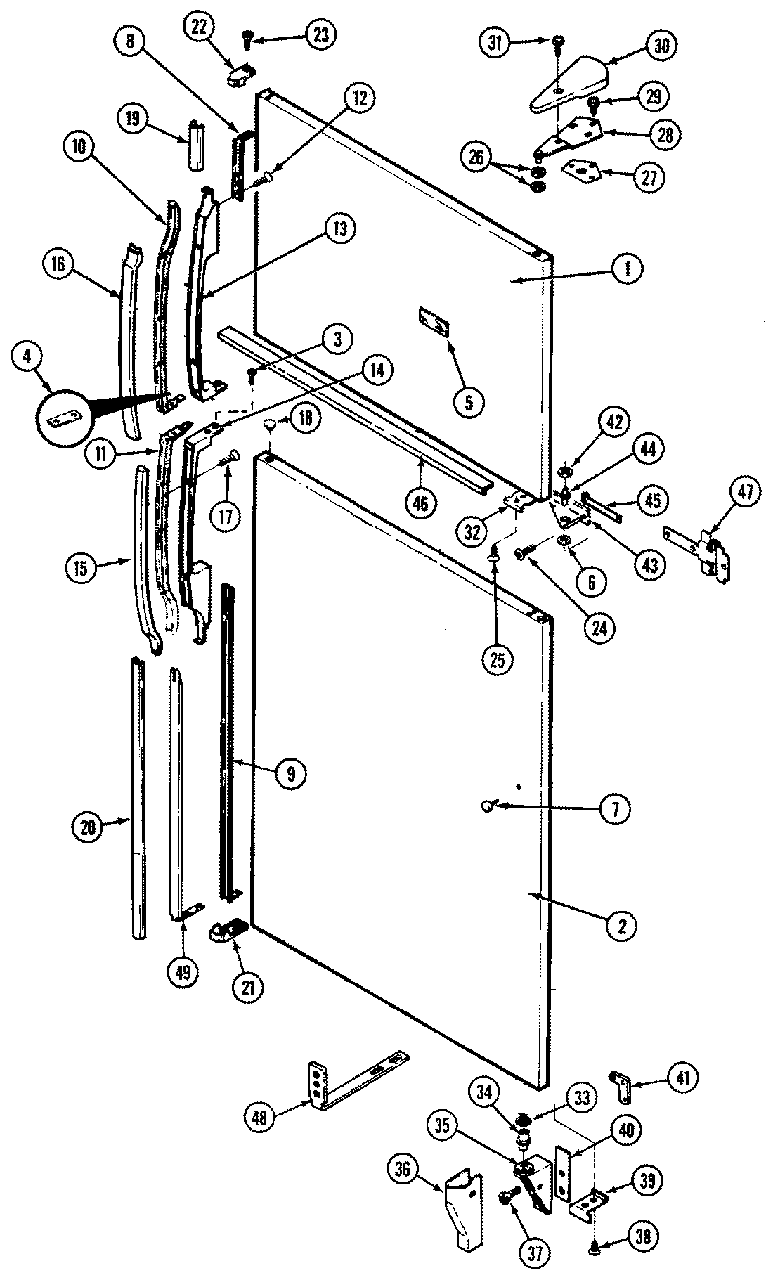
RTC1900CAL 05 – OUTER DOOR