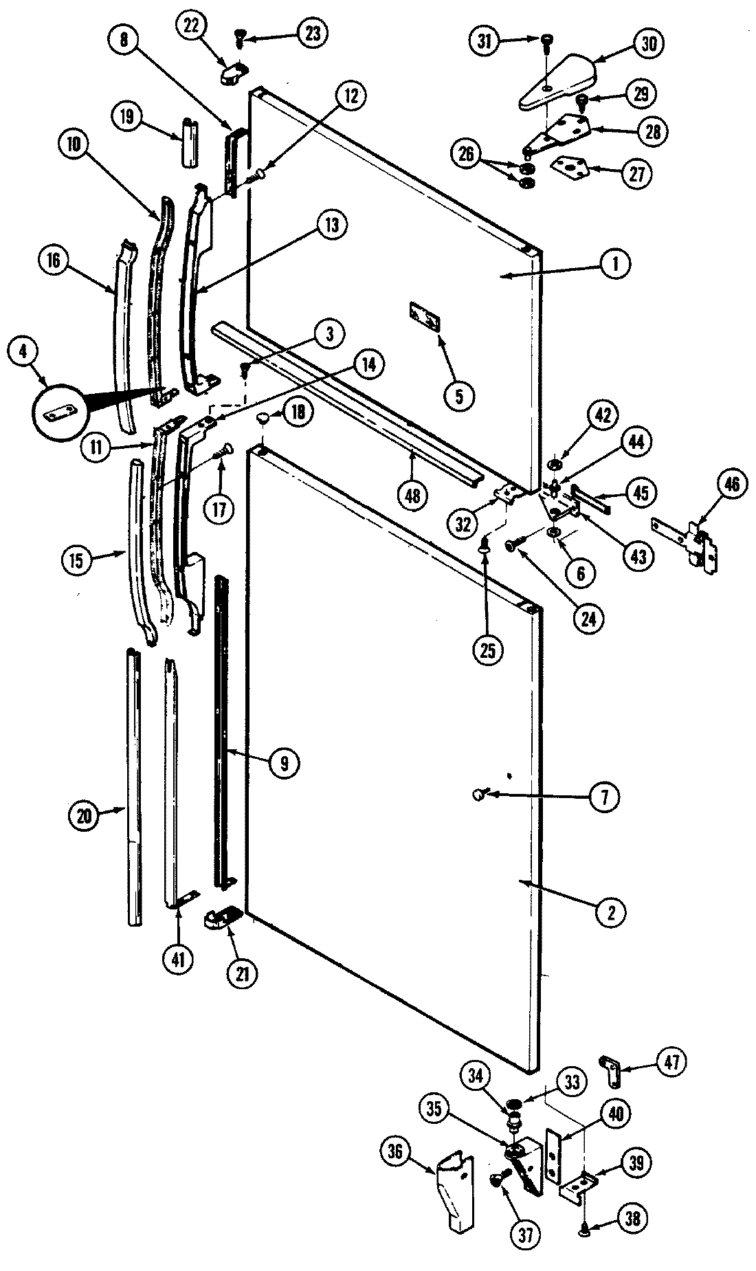
RTD17E0CAL 05 – OUTER DOORadmin2025-04-26T08:49:46+00:00RTD17E0CAL 05 – OUTER DOOR ProductsPositionProduct1MAY 72342-102-AM2MAY 72342-3-AM4MAY 67934-15MAY 69995-36MAY 54233-77MAY 67678-38MAY 67927-29MAY 67927-59MAY 65275-2610MAY 67921-311MAY 67921-112MAY 65275-6514MAY 67923-116MAY 67925-617MAY 65275-4418MAY 67634-318MAY 69480-419MAY 67932-1520MAY 67932-1821MAY 67930-122MAY 67929-123MAY 65275-2224MAY 65275-6226MAY 54233-227MAY 65031-128MAY 56144-928MAY 53709-2029MAY 65275-5230MAY 69518-331MAY 408062-13367483-3 Whirlpool Refrigerator Door Spacer Washer34MAY 69845-135MAY 69516-436MAY 68978-337MAY 65275-5138MAY 65275-4839MAY 69256-240MAY 69510-141MAY 67933-242MAY 67483-643MAY 69602-144MAY 69517-145MAY 69605-146MAY 65275-6146MAY 69419-147MAY 67874-147MAY 65275-5948MAY 69265-1