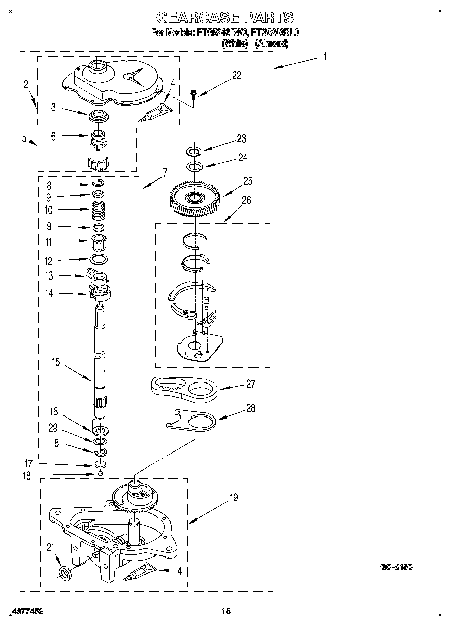
RTG5243BL0 12 – GEARCASE