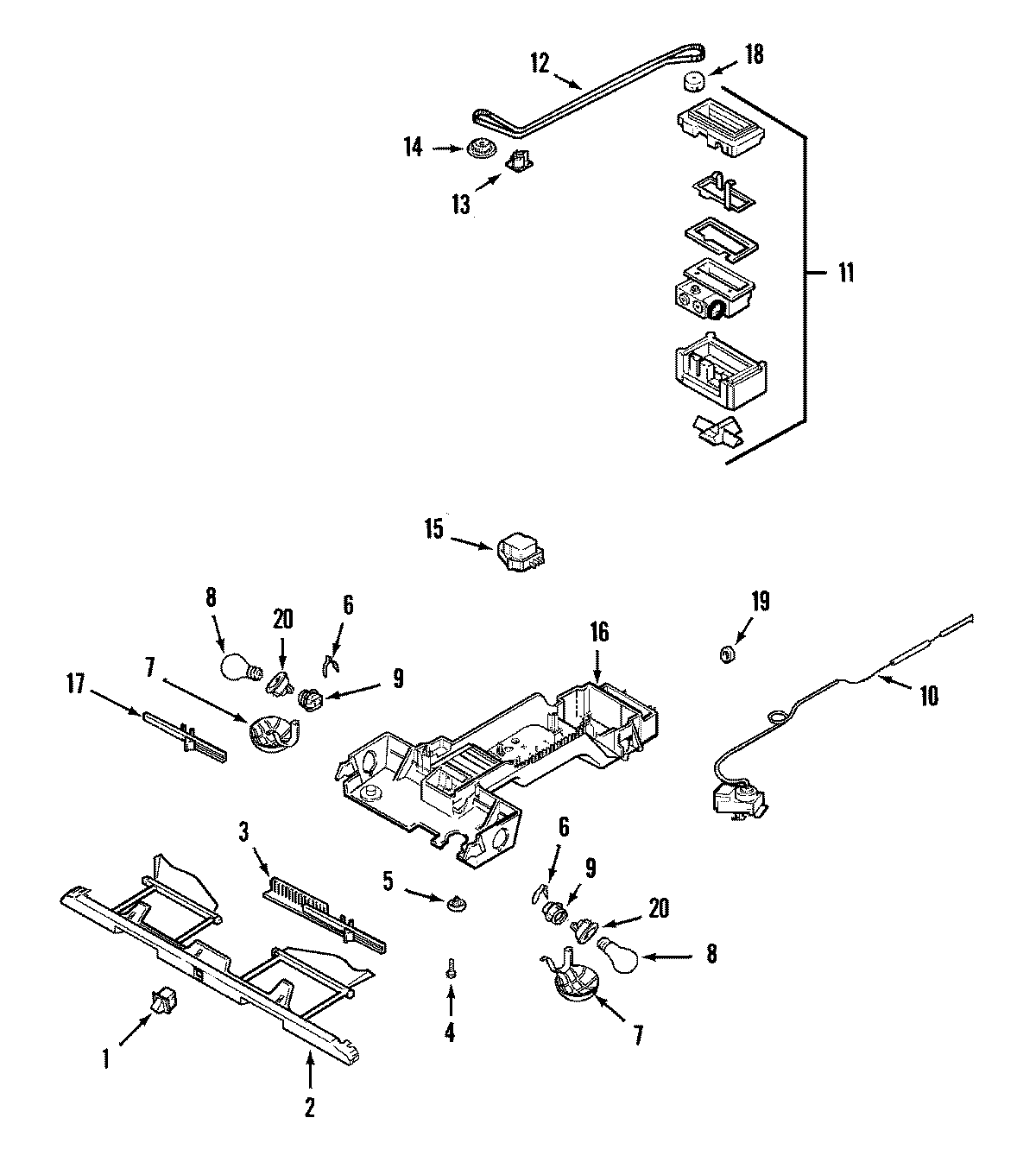
RTM21011 02 – CONTROLS