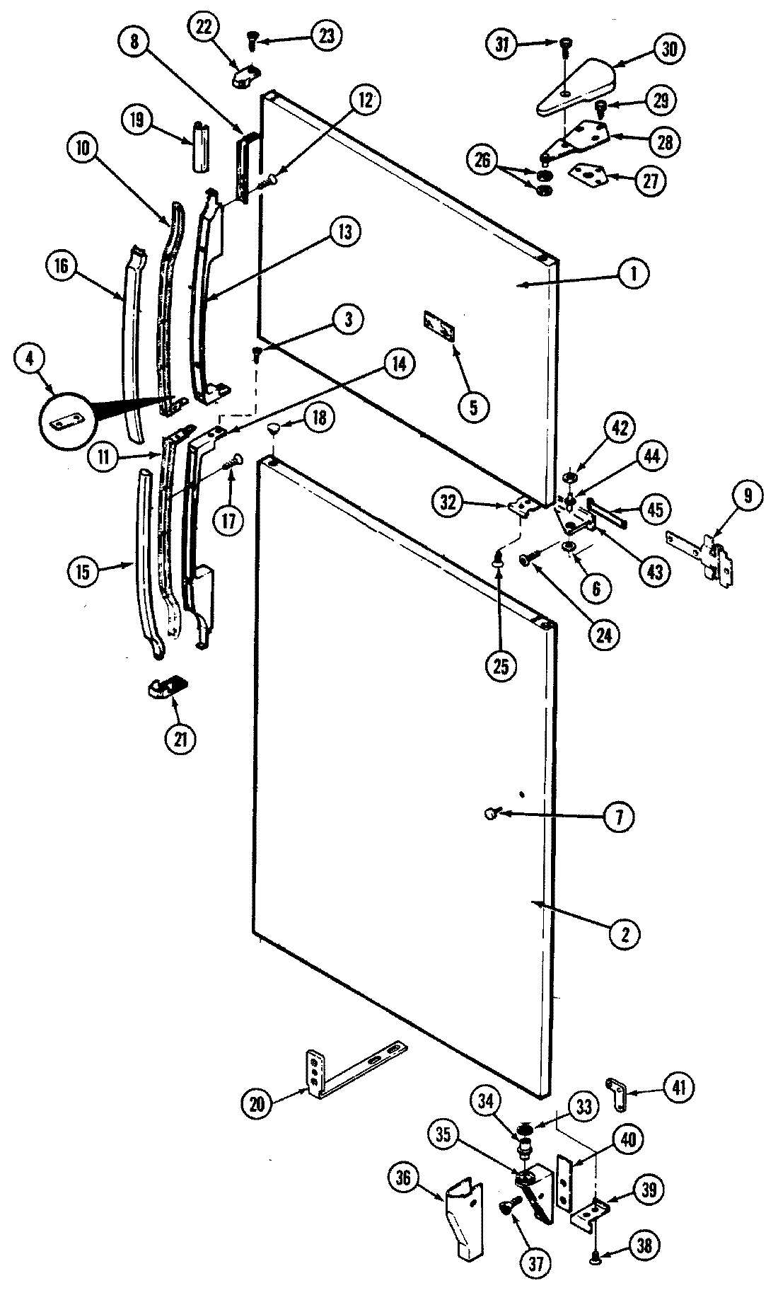
RTS1900CAL 05 – OUTER DOORadmin2025-04-26T08:50:06+00:00RTS1900CAL 05 – OUTER DOOR ProductsPositionProduct1MAY 72342-100-AM2MAY 72342-1-AM4MAY 67934-15MAY 69995-36MAY 54233-77MAY 67678-38MAY 67927-39MAY 69419-19MAY 65275-6110MAY 67921-411MAY 67921-112MAY 65275-6514MAY 67923-116MAY 67925-617MAY 65275-4418MAY 69480-418MAY 67634-319MAY 67932-1620MAY 69511-120MAY 65275-6620MAY 414012-121MAY 67931-222MAY 67929-123MAY 400011-3523MAY 65275-2623MAY 65275-2224MAY 65275-6226MAY 54233-227MAY 65031-128MAY 56144-928MAY 53709-2029MAY 65275-5230MAY 69518-331MAY 408062-13367483-3 Whirlpool Refrigerator Door Spacer Washer34MAY 69845-135MAY 69516-436MAY 68978-337MAY 65275-5138MAY 65275-4839MAY 69256-240MAY 69510-141MAY 67874-141MAY 65275-5942MAY 67483-643MAY 69602-144MAY 69517-145MAY 69605-1