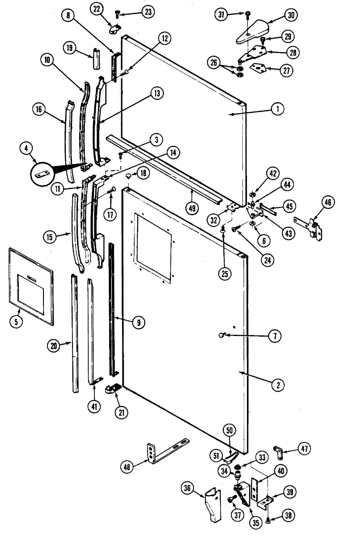
RTW22E0CAL 06 – OUTER DOORadmin2025-04-26T08:49:56+00:00RTW22E0CAL 06 – OUTER DOOR ProductsPositionProduct1MAY 72342-104-AM2MAY 72342-9-AM4MAY 67934-15MAY 405004-355MAY 69907-66MAY 54233-77MAY 67678-38MAY 67927-39MAY 65275-269MAY 67927-510MAY 67921-411MAY 67921-112MAY 65275-6514MAY 67923-116MAY 67925-617MAY 65275-4418MAY 69480-418MAY 67634-319MAY 67932-1620MAY 67932-1821MAY 67930-122MAY 67929-123MAY 65275-2224MAY 65275-6226MAY 54233-227MAY 65031-128MAY 53709-2028MAY 56144-929MAY 65275-5230MAY 69518-331MAY 408062-13367483-3 Whirlpool Refrigerator Door Spacer Washer34MAY 70060-135MAY 69516-336MAY 65275-5636MAY 68978-337MAY 65275-5138MAY 65275-4839MAY 69256-240MAY 69510-141MAY 67933-242MAY 67483-643MAY 69602-144MAY 69517-145MAY 69605-146MAY 69419-146MAY 65275-6147MAY 65275-5947MAY 67874-148MAY 414012-148MAY 65275-6648MAY 69511-149MAY 69265-350MAY 67187-851MAY 69540-151MAY 69803-1