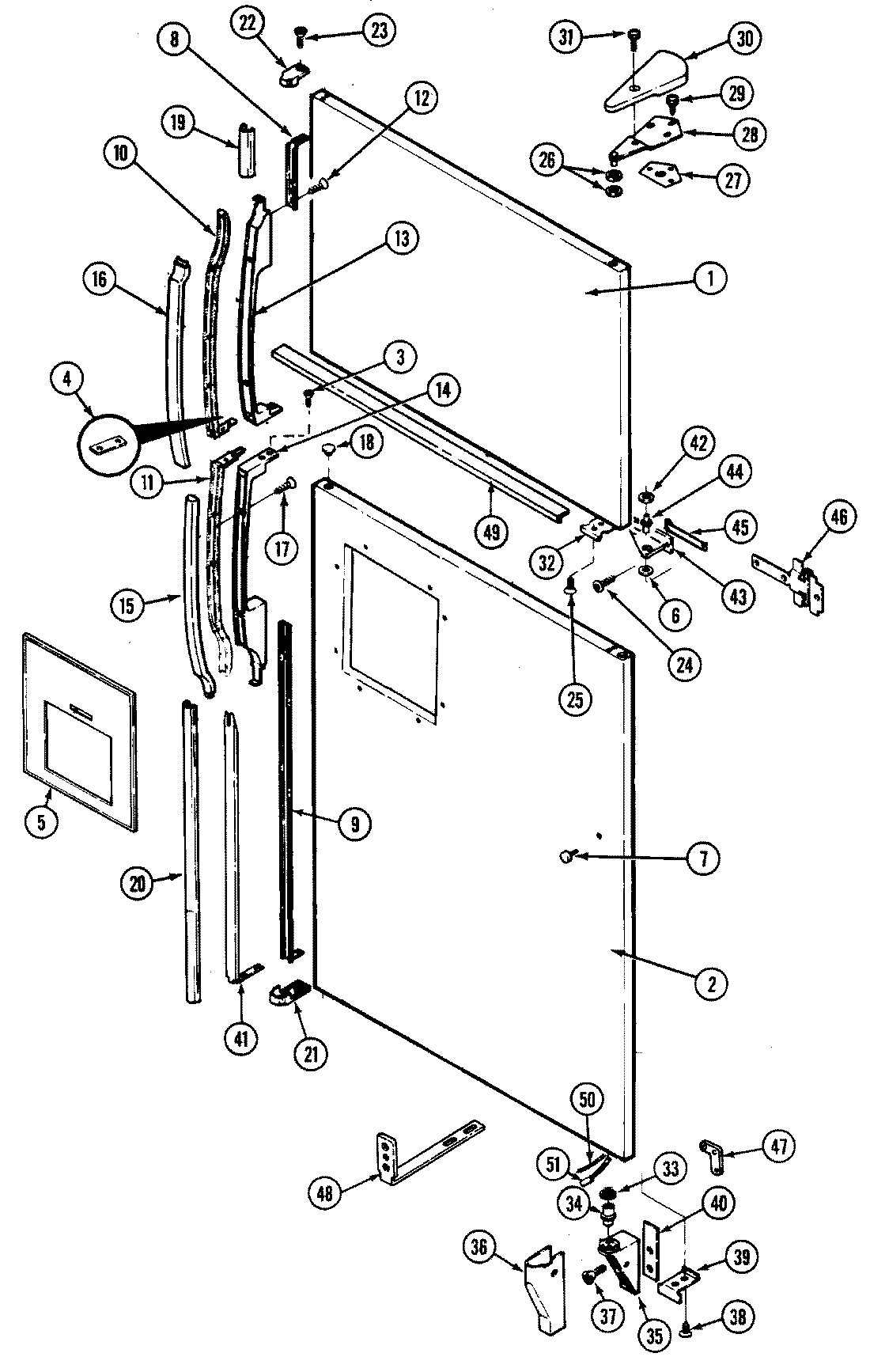
RTW22E1CAE 06 – OUTER DOORadmin2025-04-26T08:50:46+00:00RTW22E1CAE 06 – OUTER DOOR ProductsPositionProduct1MAY 72342-104-WW2MAY 72342-9-WW4MAY 67934-15MAY 69907-75MAY 405004-356MAY 54233-77MAY 67678-28MAY 67927-39MAY 67927-59MAY 65275-2610MAY 67921-411MAY 67921-112MAY 65275-6514MAY 67923-116MAY 67925-517MAY 65275-4418MAY 67634-218MAY 69480-219MAY 67932-1020MAY 67932-1121MAY 67930-122MAY 67929-123MAY 65275-2224MAY 65275-6226MAY 54233-227MAY 65031-128MAY 56144-1428MAY 53709-2029MAY 65275-5230MAY 69518-431MAY 408062-13367483-3 Whirlpool Refrigerator Door Spacer Washer34MAY 70060-135MAY 69516-336MAY 65275-5636MAY 68978-437MAY 65275-5138MAY 65275-4839MAY 69256-240MAY 69510-141MAY 67933-242MAY 67483-643MAY 69602-144MAY 69517-145MAY 69605-146MAY 69419-146MAY 65275-6147MAY 67874-147MAY 65275-5948MAY 69511-148MAY 65275-6648MAY 414012-149MAY 69265-350MAY 67187-2651MAY 69540-151MAY 69803-2