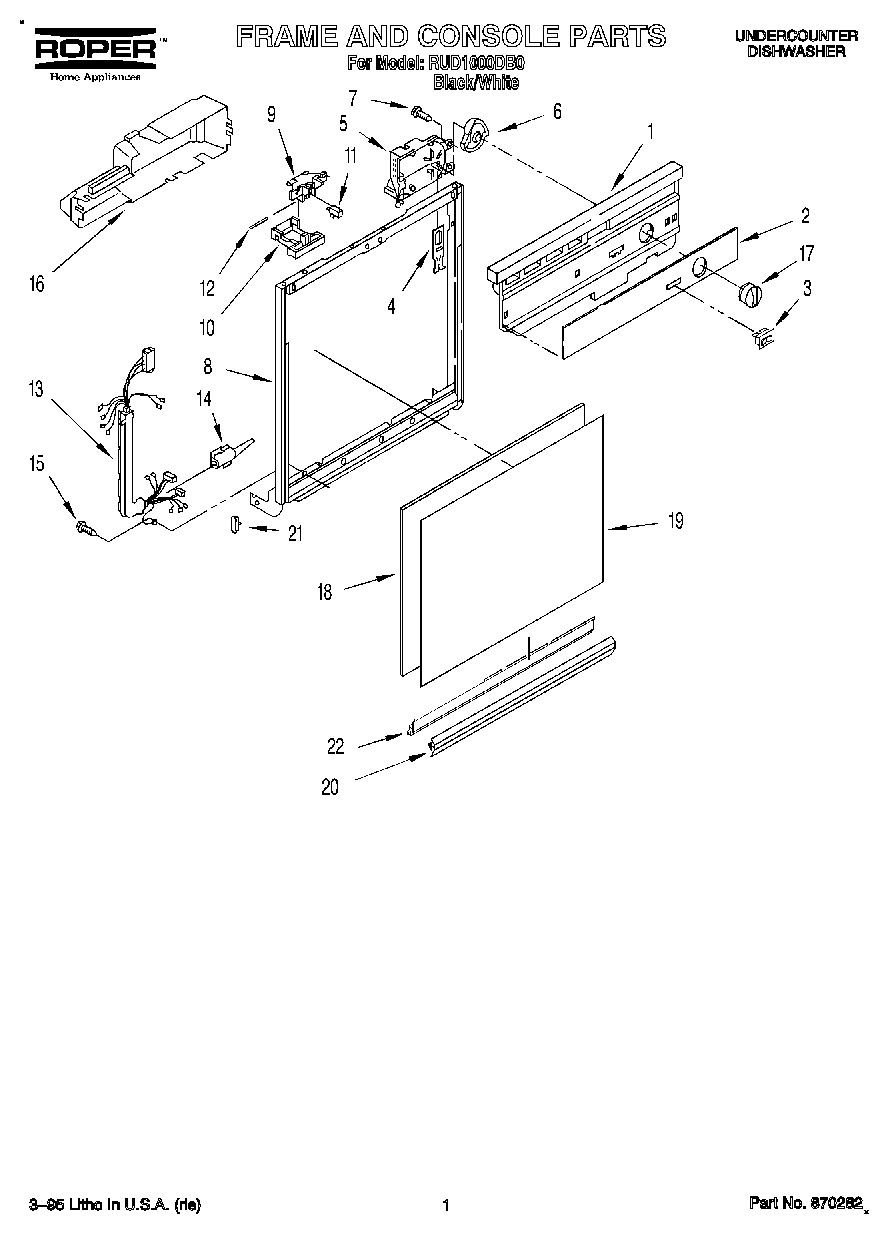
RUD1000DB0 01 – FRAME AND CONSOLEadmin2025-04-26T12:51:30+00:00RUD1000DB0 01 – FRAME AND CONSOLE ProductsPositionProduct1Console2Insert, Console3WP4314961 Whirlpool Lite Switch4Follower, Cam5Timer6WP8271510 Whirlpool Dishwasher Cam7WP304231 Whirlpool Dishwasher Screw83374711 Whirlpool Dishwasher Frame9WP3380854 Whirlpool Door Latch Bolt10WP3368954 Whirlpool Dishwasher Lever11Shield, Switch12Pin, Switch (2)13Harness and Protector143376405 Whirlpool Dishwasher Elbow15WP488234 Whirlpool Air Conditioner Screw16Cover, Timer17Knob, Timer18Spacer, Corrugated19WP3369769 Whirlpool Dishwasher Panel20Retainer, Panel21WP3373234 Whirlpool Dishwasher Bearing22WP3374716 Whirlpool Dishwasher Channel