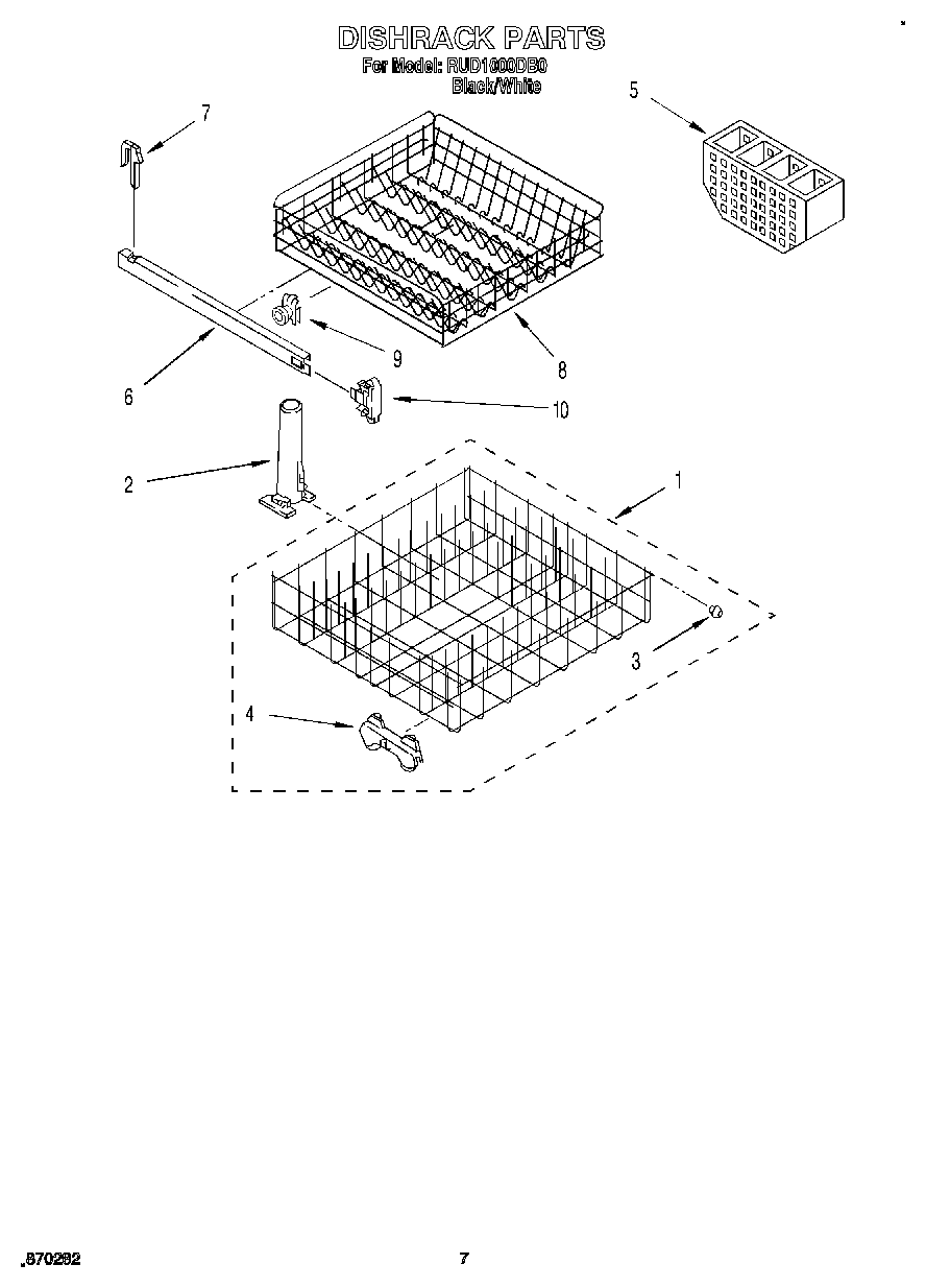
RUD1000DB0 06 – DISHRACK