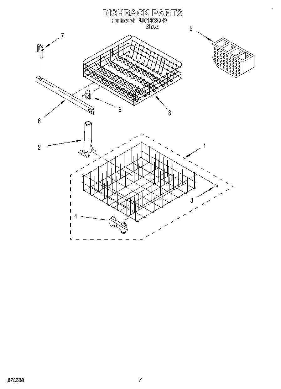
RUD1000DB3 06 – DISHRACK