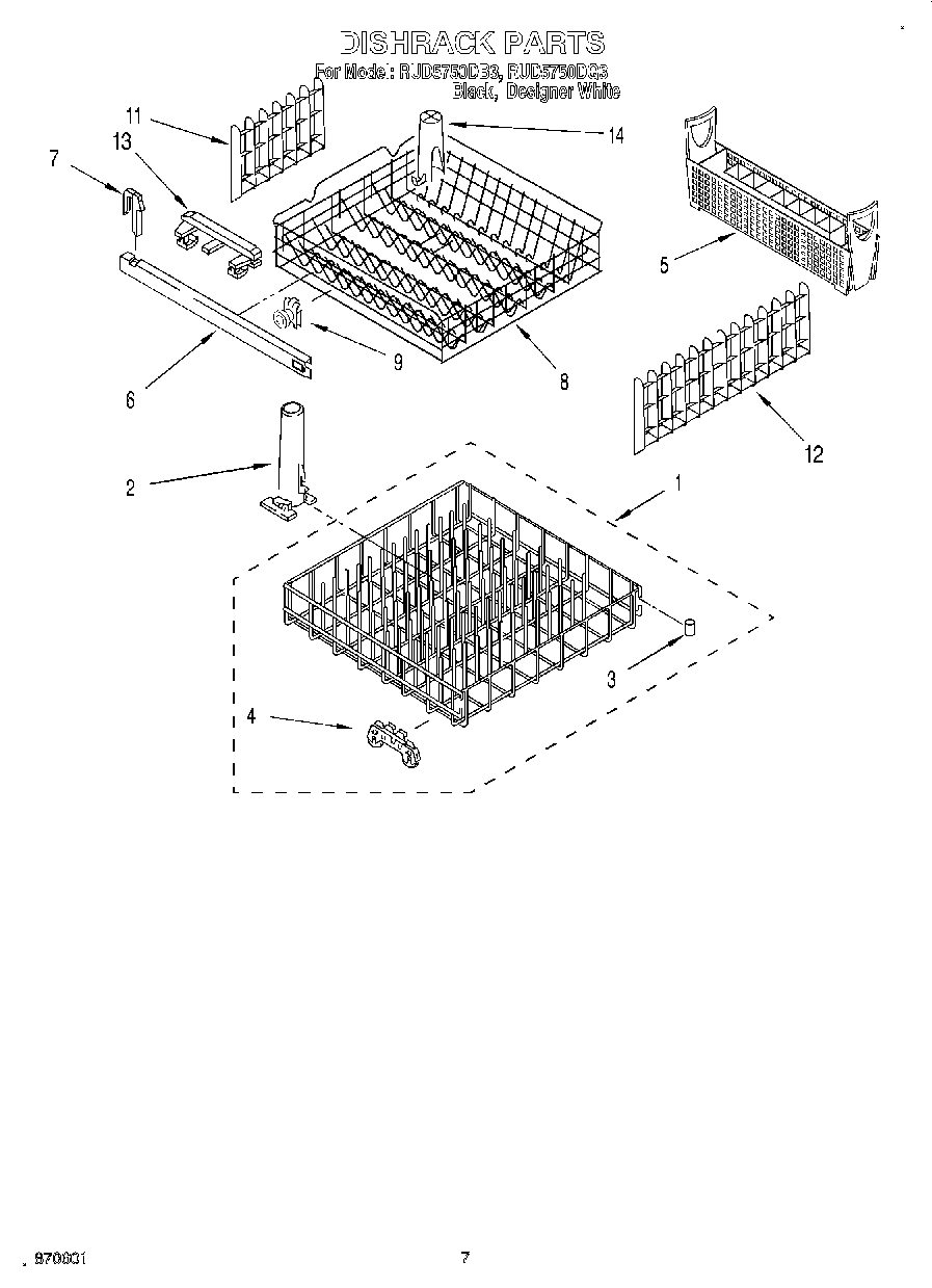
| 1 | W10311986 Whirlpool Dishwasher Lower Rack |
| 2 | WP8268825 Whirlpool Dishwasher Protector |
| 3 | WP3385142 Whirlpool Dishwasher Bumper |
| 4 | WP3376961 Whirlpool Dishwasher Wheel |
| 5 | 8519598 Whirlpool Silverware Basket |
| 6 | WP3385089 Whirlpool Track |
| 7 | WP3379941 Whirlpool Dishwasher Stop |
| 8 | W11169039 Whirlpool Dishwasher Dish Rack |
| 9 | Wheel & Axle Assembly (4) |
| 11 | WP8268828 Whirlpool Dishwasher Shelf |
| 12 | Cupshelf, Large (2) |
| 13 | 8268826 Whirlpool Dishwasher Cup Holder |
| 14 | Diffuser, Water |