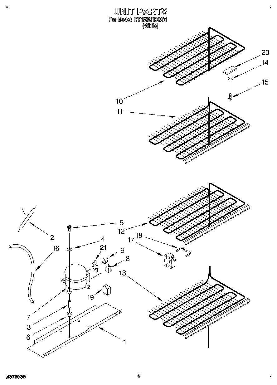
RV1599RBW01 03 – UNIT