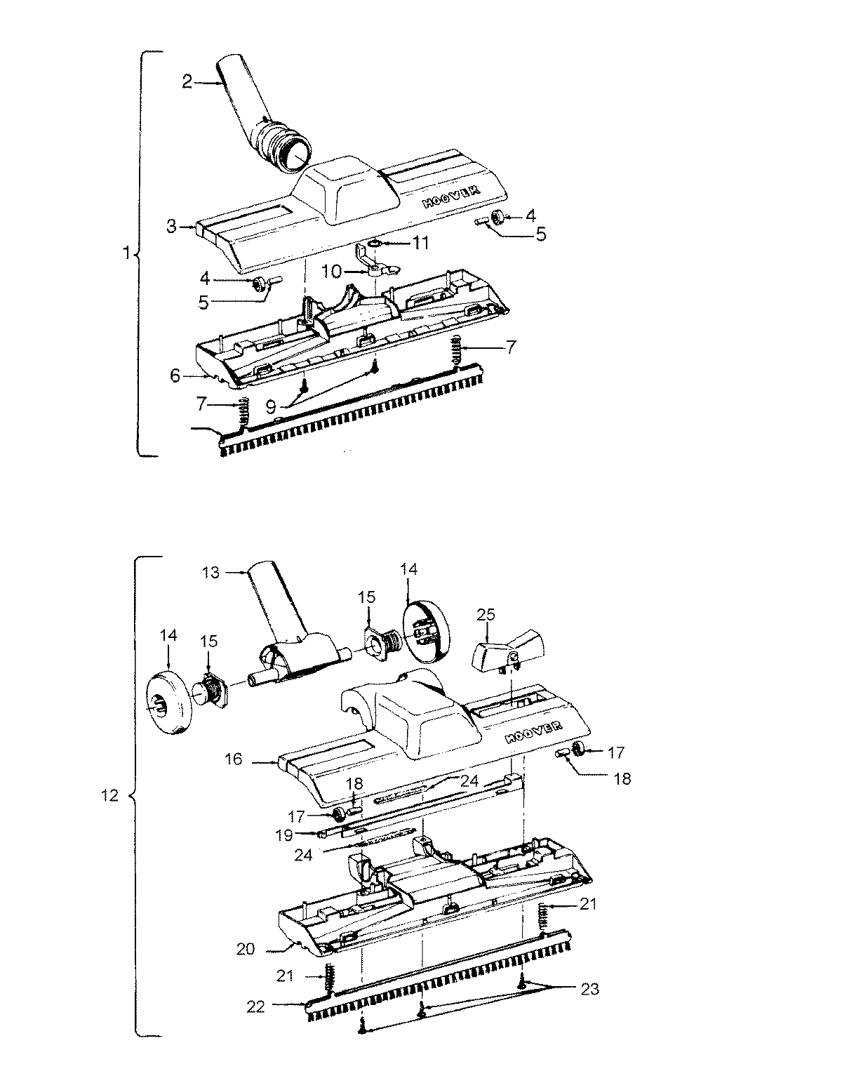
S1221— 03 – RUG_FLRNOZZLEadmin2025-04-26T08:50:50+00:00S1221— 03 – RUG_FLRNOZZLE ProductsPositionProduct1MAY 0M1141691MAY 434141401MAY 434141391MAY 434141211MAY 434141702MAY 386460393MAY 386151823MAY 386151536MAY 364140187MAY 166649--10MAY 3845400410MAY 3845400611MAY 2132910512MAY 4341410113MAY 3864604514MAY 4324404315MAY 3851101616MAY 4341411717MAY 3852101818MAY 3151100419MAY 3845100820MAY 3641401321MAY 166649FW22MAY 4844300423MAY 2144720324MAY 3412201325MAY 38434015