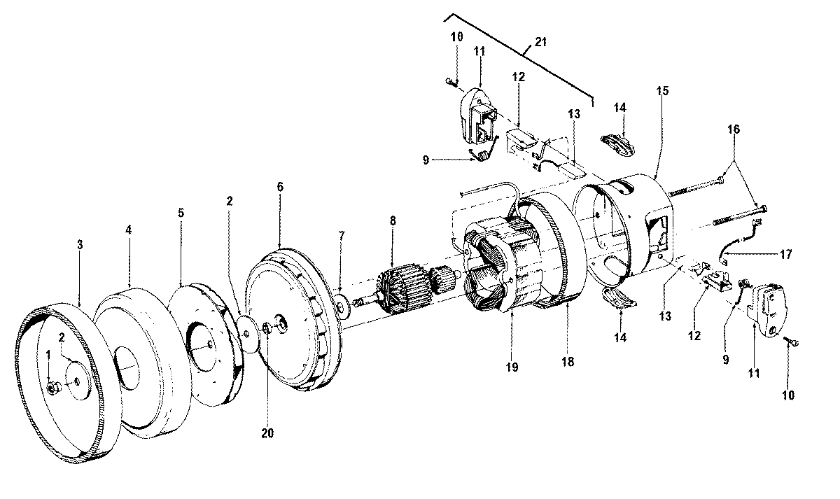
S1347— 02 – MOTOR ASSEMBLYadmin2025-04-26T08:50:39+00:00S1347— 02 – MOTOR ASSEMBLY ProductsPositionProduct1MAY 012028--2MAY 213127743MAY 311780084MAY 371960655MAY 435510086MAY 435510276MAY 435510296MAY 435510307MAY 311650038MAY 447651388MAY 447652209MAY 3835300410MAY 2142940611MAY 168038AG11MAY 167696AG12NOT REQUIRED PART OR SEE NOTE FUSE (NOT REQUIRED)12MAY 168506--13MAY 167679--13MAY 167681--14MAY 169702BZ15MAY 4219302516MAY 2144722216MAY 3611200617MAY 4617600118MAY 3878101719MAY 4531104819MAY 4531105120MAY 3114801120MAY 3114800921MAY 4357611321MAY 4731801721MAY 4357608321MAY 4357806721MAY 47318008