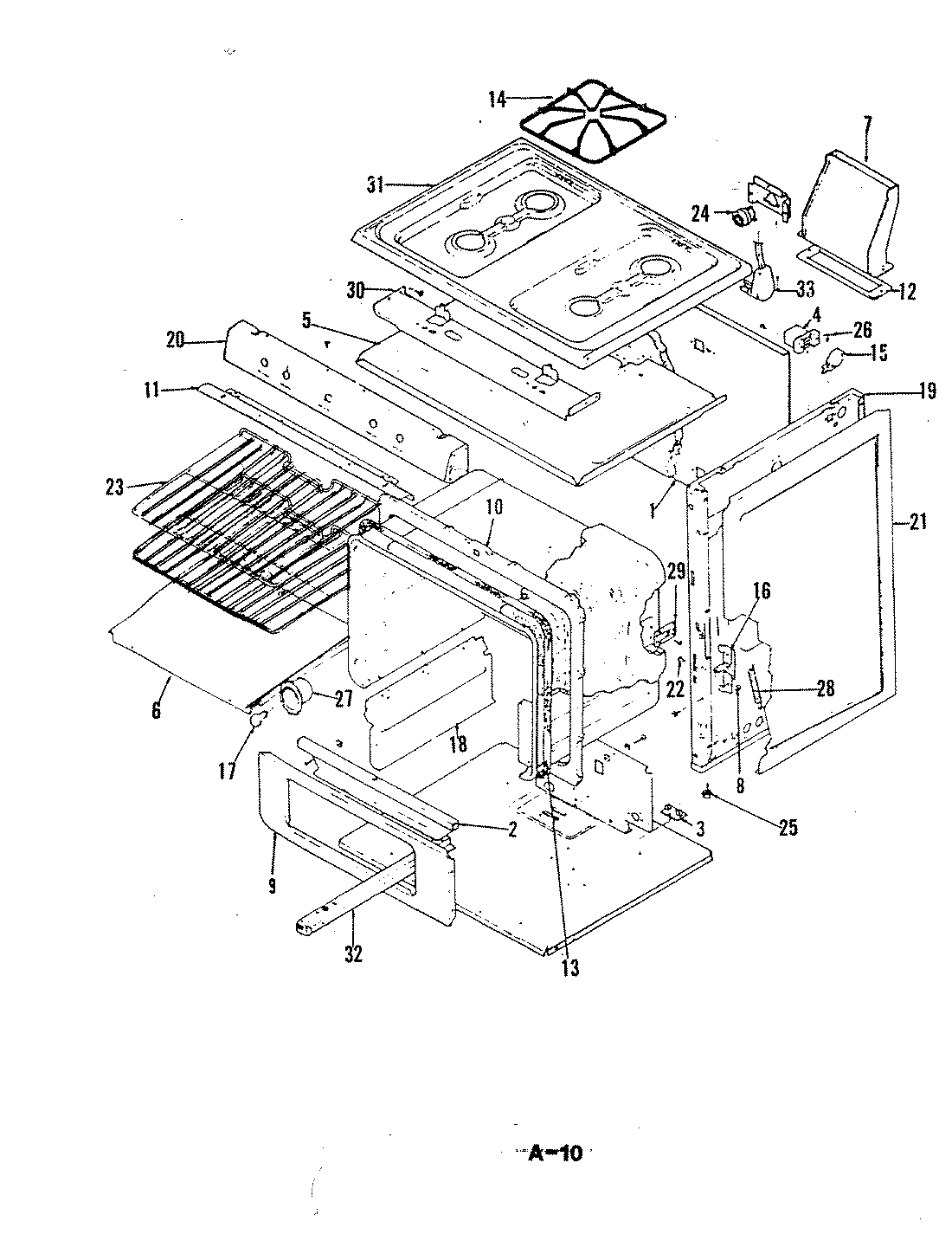
S22FY-2KLX 01 – BODY (LOWER)admin2025-04-26T08:54:01+00:00S22FY-2KLX 01 – BODY (LOWER) ProductsPositionProduct1MAY 4002F078-451MAY 4002F166-451MAY 4002F165-801MAY 4002F144-801MAY 4002F130-451MAY 4002F124-452MAY 3601W124-163MAY 7401P015-604MAY 7401P017-605MAY 4011F095-806MAY 2205F012-177MAY 8010P048-607MAY 8003P010-607MAY 7107P014-607MAY 3801F113-517MAY 3801F021-457MAY 3801F218-517MAY 4006W026-808MAY 7720P101-608WP7112P004-60 Whirlpool Thermal Clip8MAY 7720P102-608MAY 7112P019-608MAY 7112P030-608MAY 8310P001-608MAY 7602P050-609MAY 04622329MAY 2201F034-2510NOT REQUIRED PART OR SEE NOTE FUSE (NOT REQUIRED)11MAY 4012F01312MAY 7201P008-6013MAY 7212P001-6013MAY 132713514MAY 2003W026-0014MAY 2003W001-0015MAY 7105P002-6016MAY Y3413F0161916MAY 135926316MAY 3413F002-1916MAY 3418A029-3416MAY 3418A030-3416MAY 3413F002-1117MAY 7407P026-6018MAY 4009F006-4519MAY 3401F004-1119MAY 4009W040-8019MAY 3401F004-1919MAY Y3401F0201919MAY 4009W077-8019MAY 4009W071-8020MAY 7712P006-6021MAY 2618F073-7621MAY 2618F020-7623MAY 163625424MAY 165720225MAY 7101P029-6026MAY 198633927MAY Y053724127MAY 7105P004-6028MAY 179030029MAY 3807F205-4530MAY 3807F217-8030MAY 7403P019-6031MAY 2001F035-9631MAY 0902288Y32MAY 091121332MAY 191616632MAY 191616733MAY 7402P025-6033MAY 7402P003-60