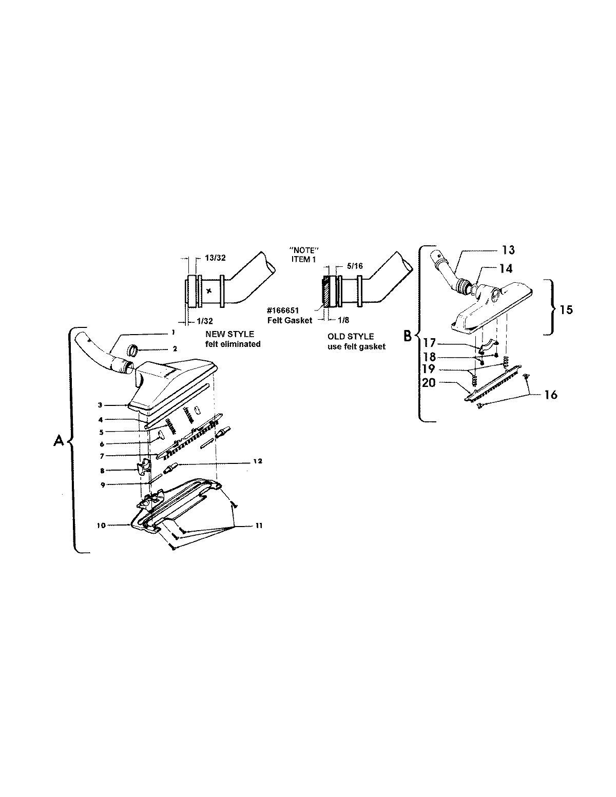
S3125— 02 – CLEANINGTOOLS OLDadmin2025-04-26T08:53:47+00:00S3125— 02 – CLEANINGTOOLS OLD ProductsPositionProduct1MAY 434630122MAY 013267--3MAY 386151564MAY 013259PH5MAY 015963FW6MAY 13261AY-7MAY 016184--8MAY 161413--9MAY 013272--10MAY 4224600211MAY 012955--12MAY 013157AG13MAY 166652JM13MAY 4341401P14MAY 166651--15MAY 4341408916MAY 166646--17MAY 166650AY18MAY 166648AW19MAY 166649FW20MAY 166656--