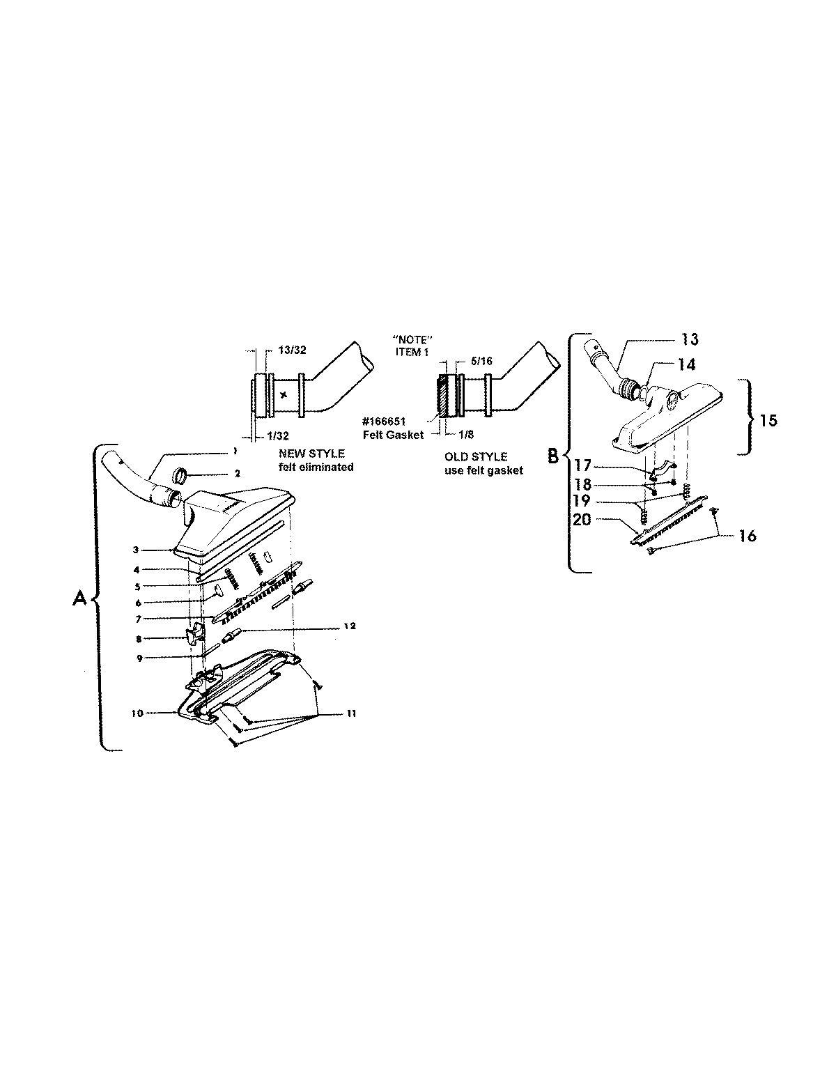
S3187— 02 – CLEANINGTOOLS