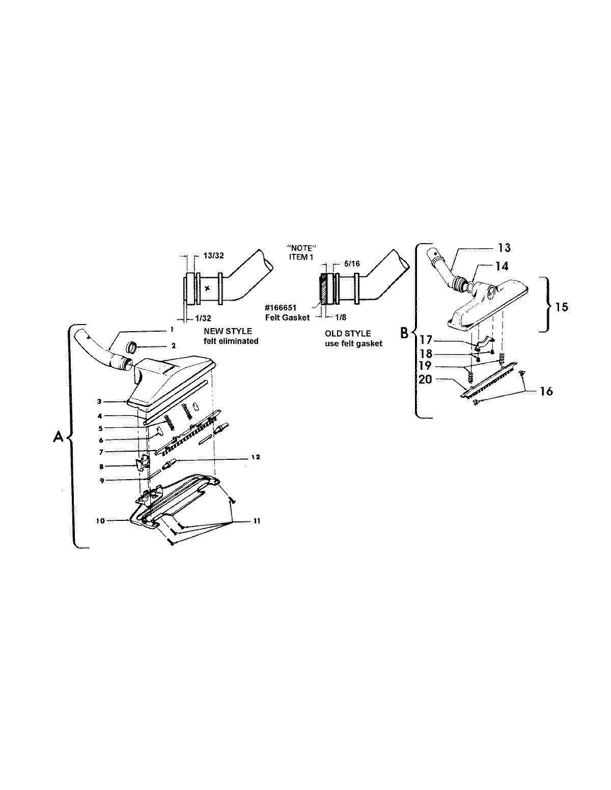
S3215— 02 – CLEANINGTOOLSadmin2025-04-26T08:53:46+00:00S3215— 02 – CLEANINGTOOLS ProductsPositionProduct1MAY 341130011MAY 434141011MAY 434630121MAY 484760261MAY 484760642MAY 169241AW2MAY 013267--3MAY 169239AG3MAY 169239JR3MAY 386151564MAY 013730--4MAY 013259PH5MAY 015963FW5MAY 169242--6MAY 386151616MAY 13261AY-7MAY 341120017MAY 016184--8MAY 161413--8MAY 342230029MAY 169250AG9MAY 3152400510MAY 4224600210MAY 169253AY11MAY 012955--11MAY 169256--12MAY 169247JR12MAY 169247JM12MAY 013157AG13MAY 4341410513MAY 166652JM13MAY 169251--14MAY 169538--14MAY 166651--15MAY 4341408915MAY 2148146416MAY 2148146516MAY 166646--17MAY 169243AG17MAY 166650AY18MAY 166648AW18MAY 2131275819MAY 169244AW20MAY 166656--20MAY 2473508121MAY 166649FW22MAY 3451300123MAY 3451300224MAY 169240AY25MAY 169249JM26MAY 3412200627MAY 169254JM