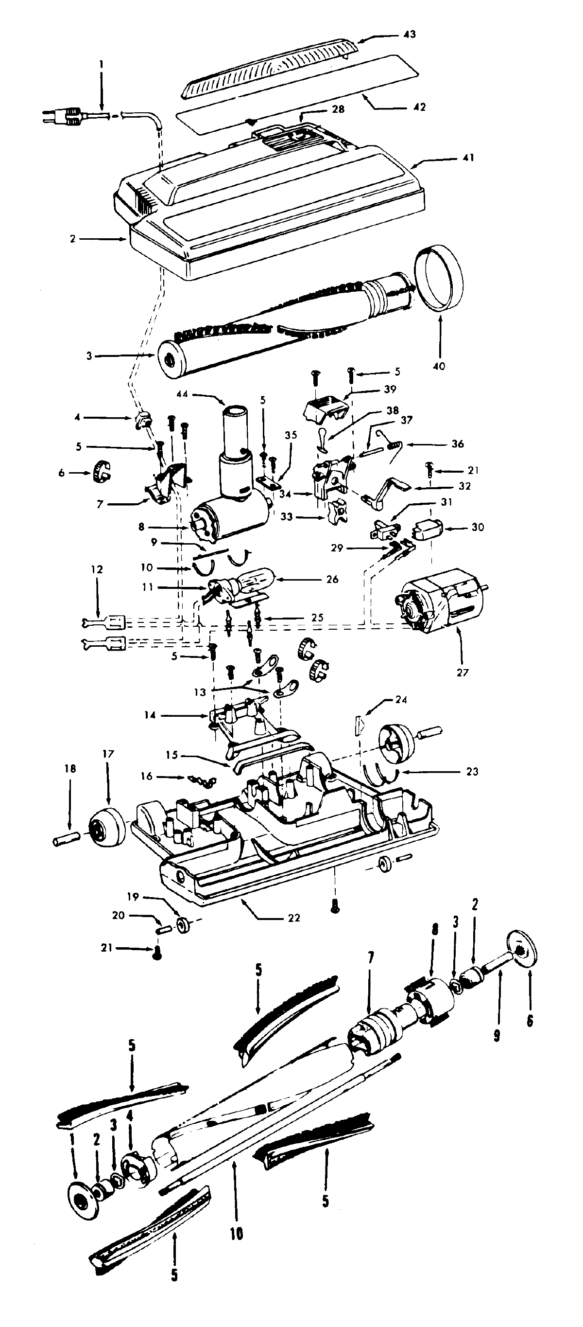
S3407021 06 – POWEREDNOZZLE, AGITATORadmin2025-04-26T08:53:57+00:00S3407021 06 – POWEREDNOZZLE, AGITATOR ProductsPositionProduct1MAY 463210641MAY 463210611MAY 463211012MAY 362311112MAY 362310942MAY 362311032MAY 362310963MAY 484160304MAY 163788--5MAY 214470416MAY 274793077MAY 361310677MAY 361310237MAY 361310337MAY 361310667MAY 361310658MAY 434610068MAY 434610218MAY 434610078MAY 434610168MAY 434610188MAY 434610198MAY 434610048MAY 434610159MAY 3411200510MAY 3433700311MAY 4717102012MAY 036120--13NOT REQUIRED PART OR SEE NOTE FUSE (NOT REQUIRED)14MAY 4225610114MAY 4225609815MAY 3412301716MAY 3527600117MAY 3217502518MAY 3152300519MAY 3276100120MAY 3152200421MAY 2144700722MAY 4224612123MAY 3433700423MAY 3437801024MAY 013261AY25MAY 3621800526MAY 2731730726MAY 4221205326MAY 4221205926MAY 4221208826MAY 4221212227MAY 170362JM