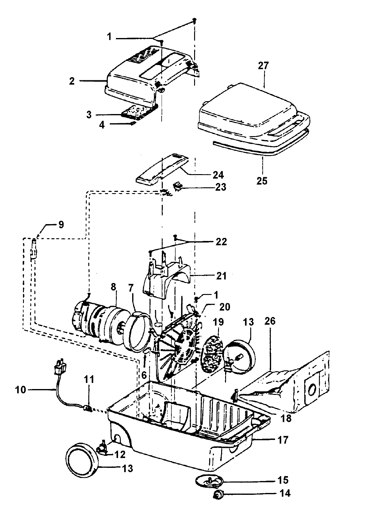
S3479— 02 – MAINHOUSING