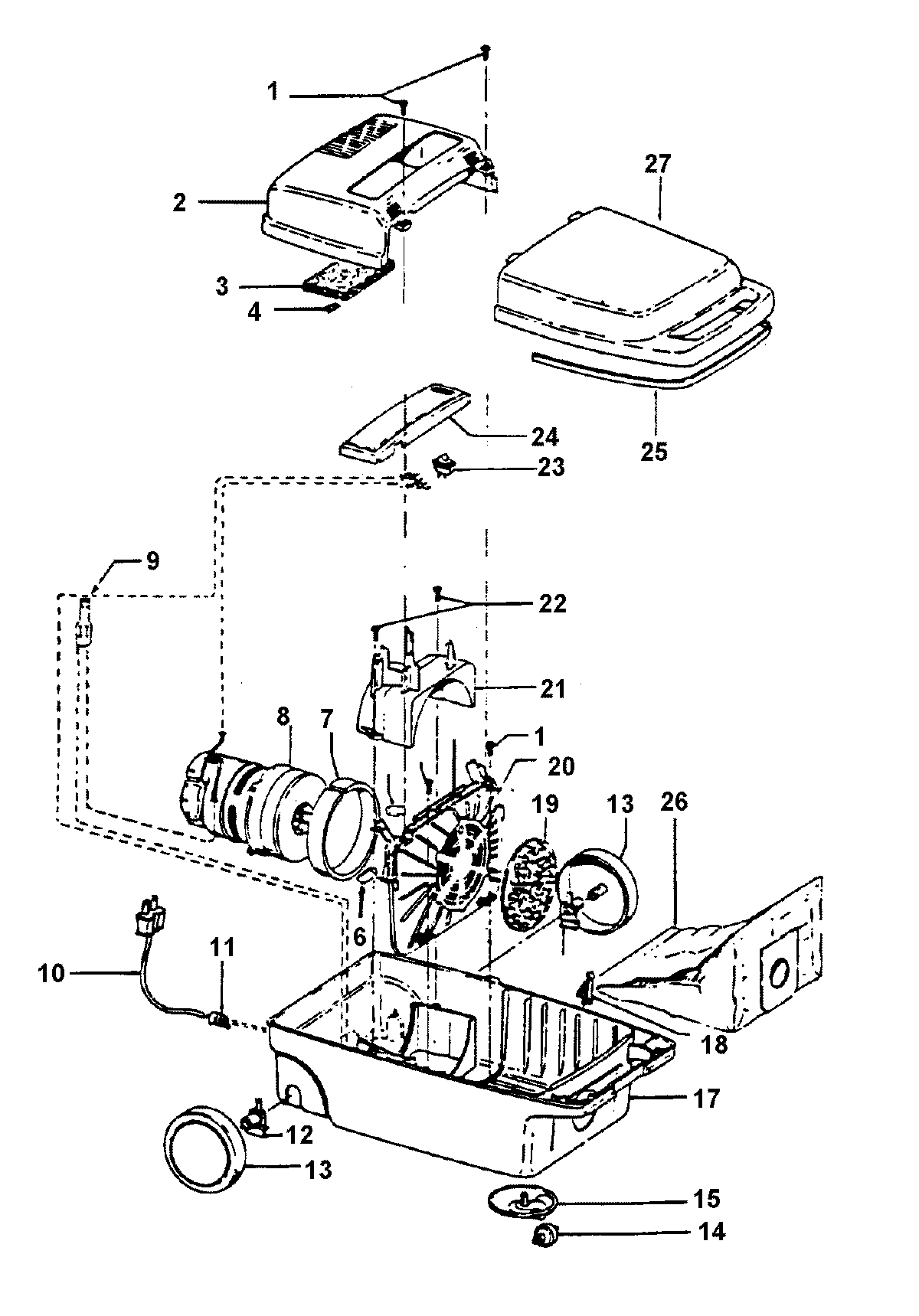
S3481— 02 – MAINHOUSING