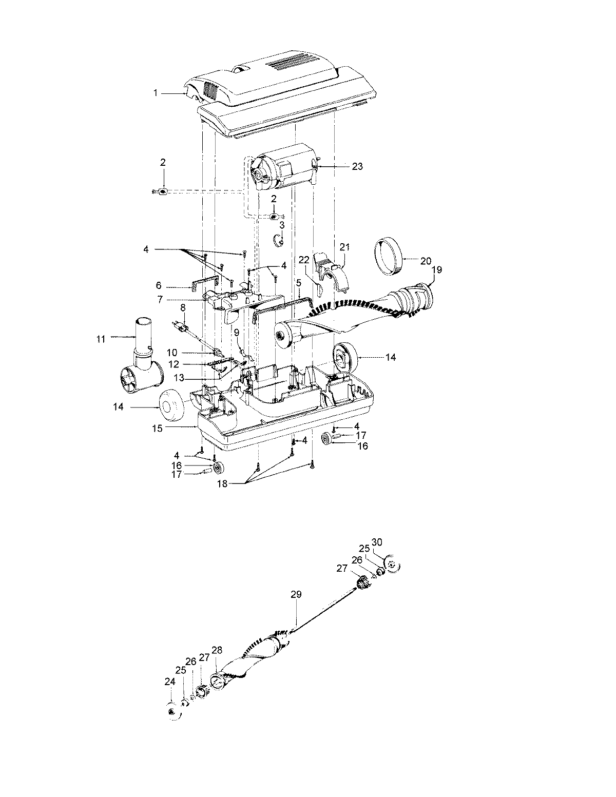
S3525— 05 – POWEREDNOZZLE, AGITATORadmin2025-04-26T08:52:04+00:00S3525— 05 – POWEREDNOZZLE, AGITATOR ProductsPositionProduct1MAY 484382541MAY 372410041MAY 42252A551MAY 372411381MAY 484382351MAY 372411371MAY 372411391MAY 372411441MAY 484380731MAY 484382512MAY 012227--3MAY 274793073MAY 276185084MAY 214470035MAY 341230396MAY 342530187MAY 422561038MAY 463210889MAY 3527600810MAY 163768--11MAY 4348210612MAY 3411200713MAY 3412201414MAY 4224611514MAY 4224611414MAY 4324404316MAY 3276100117MAY 3152200418MAY 2147980120MAY 3852801121MAY 3692300822MAY 13261AY-23MAY 4317706224MAY 3642301625MAY 4326700226MAY 2134700327MAY 3642202228MAY 4841405129MAY 3272401330MAY 36423017