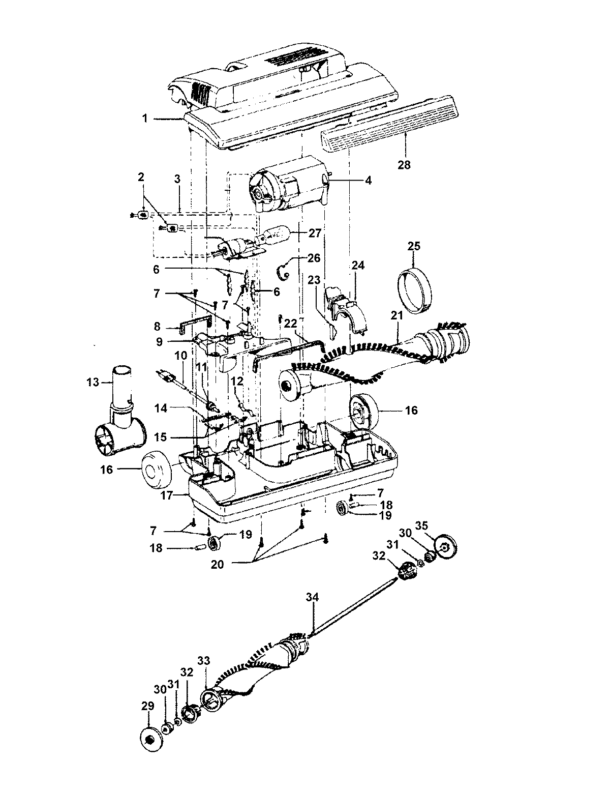
S3545— 05 – POWEREDNOZZLE, AGITATORadmin2025-04-26T08:52:11+00:00S3545— 05 – POWEREDNOZZLE, AGITATOR ProductsPositionProduct1MAY 484382561MAY 484380711MAY 484382301MAY 484382591MAY 422522011MAY 422522161MAY 42252A091MAY 42252A521MAY 484382461MAY 484382482MAY 018972--2MAY 012227--4MAY 431770625MAY 471710206MAY 362180167MAY 214470038MAY 342530189MAY 4225609910MAY 4632108811MAY 163768--12MAY 3527600813MAY 4348210614MAY 3411200715MAY 3412201416MAY 4324404317MAY 4224611517MAY 4224611418MAY 3152200419MAY 3276100120MAY 2147980121MAY 4841408121MAY 4841405122MAY 3412303923MAY 13261AY-24MAY 3692300825MAY 3852801126MAY 2747930727MAY 2731730728MAY 3938309429MAY 3642301630MAY 4326700231MAY 2134700334NOT REQUIRED PART OR SEE NOTE FUSE (NOT REQUIRED)35MAY 36423017