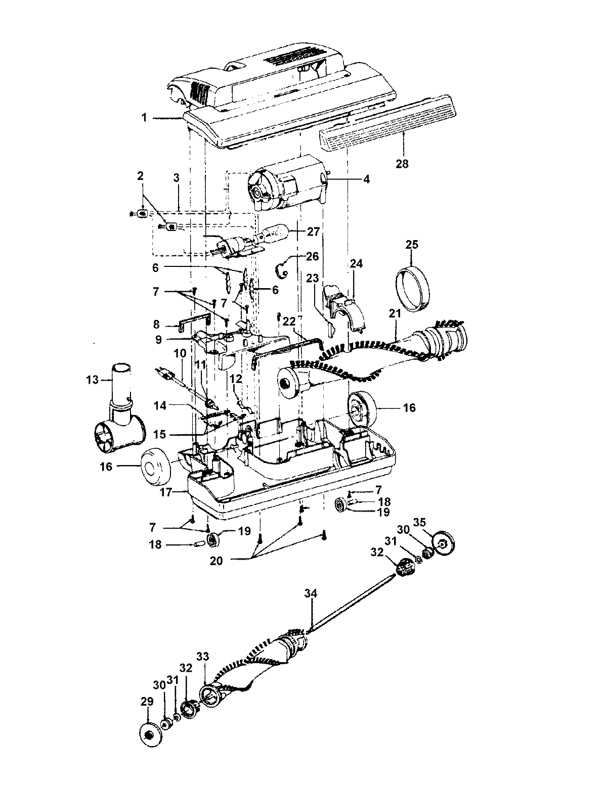
S3555— 05 – POWEREDNOZZLE, AGITATOR