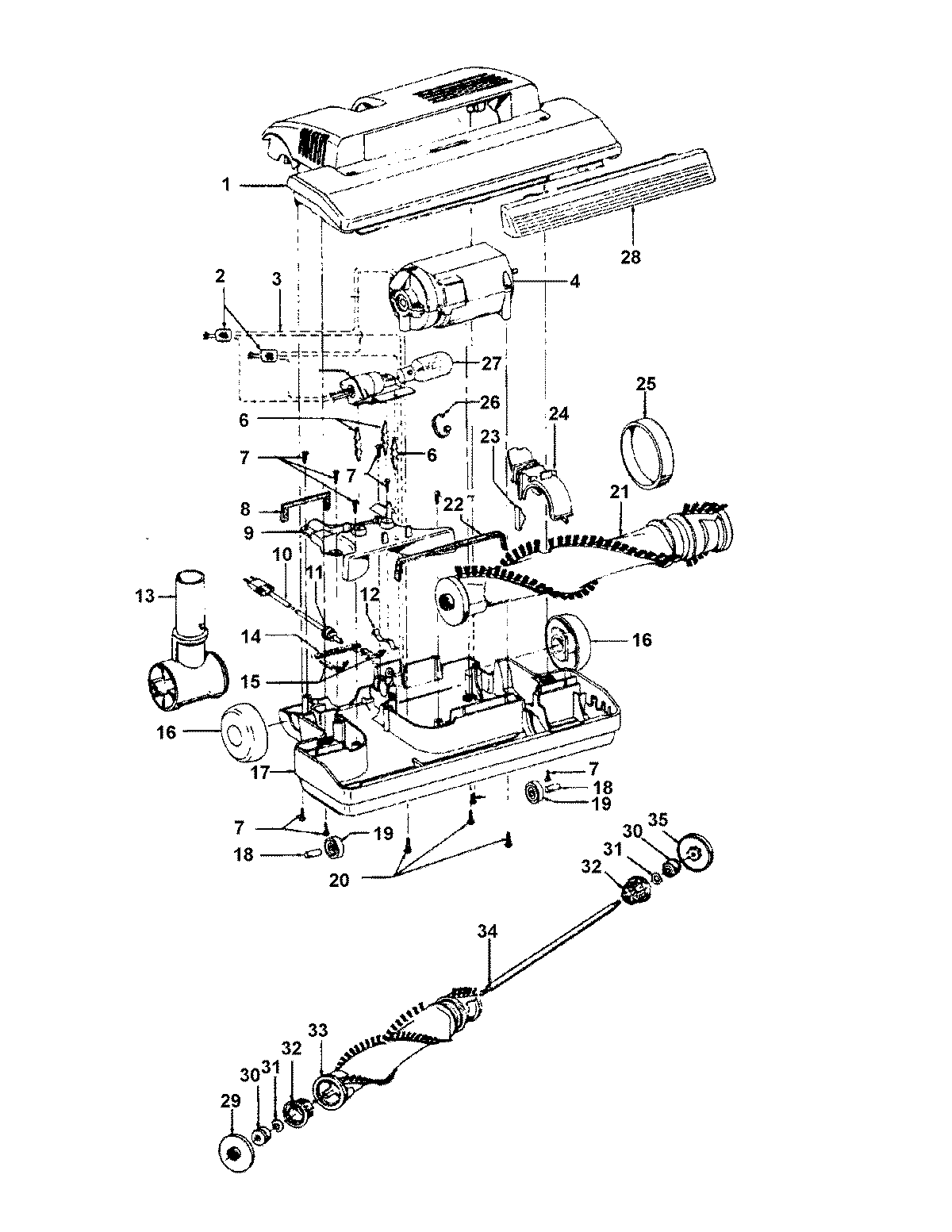
S3573— 05 – POWEREDNOZZLE, AGITATOR