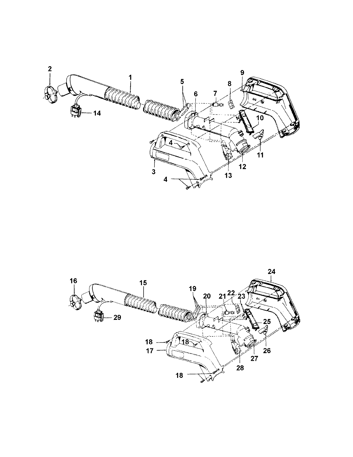
S3646— 03 – HOSEadmin2025-04-26T08:52:16+00:00S3646— 03 – HOSE ProductsPositionProduct1MAY 434331161MAY 434331103MAY 394610183MAY 394610149MAY 394610139MAY 3946101710MAY 5137513210MAY 4755103110MAY 4755101112MAY 3864604412MAY 3864608114MAY 4030005115MAY 4343309816MAY 3615303817MAY 3946101618MAY 2144712419MAY 2761300219MAY 3171200620MAY 3613108721MAY 018972--22MAY 3691303023MAY 2826700124MAY 3946101525MAY 5137513325MAY 4755101326MAY 3615302927MAY 3864603428MAY 4652600429MAY 4030005229MAY 36152029