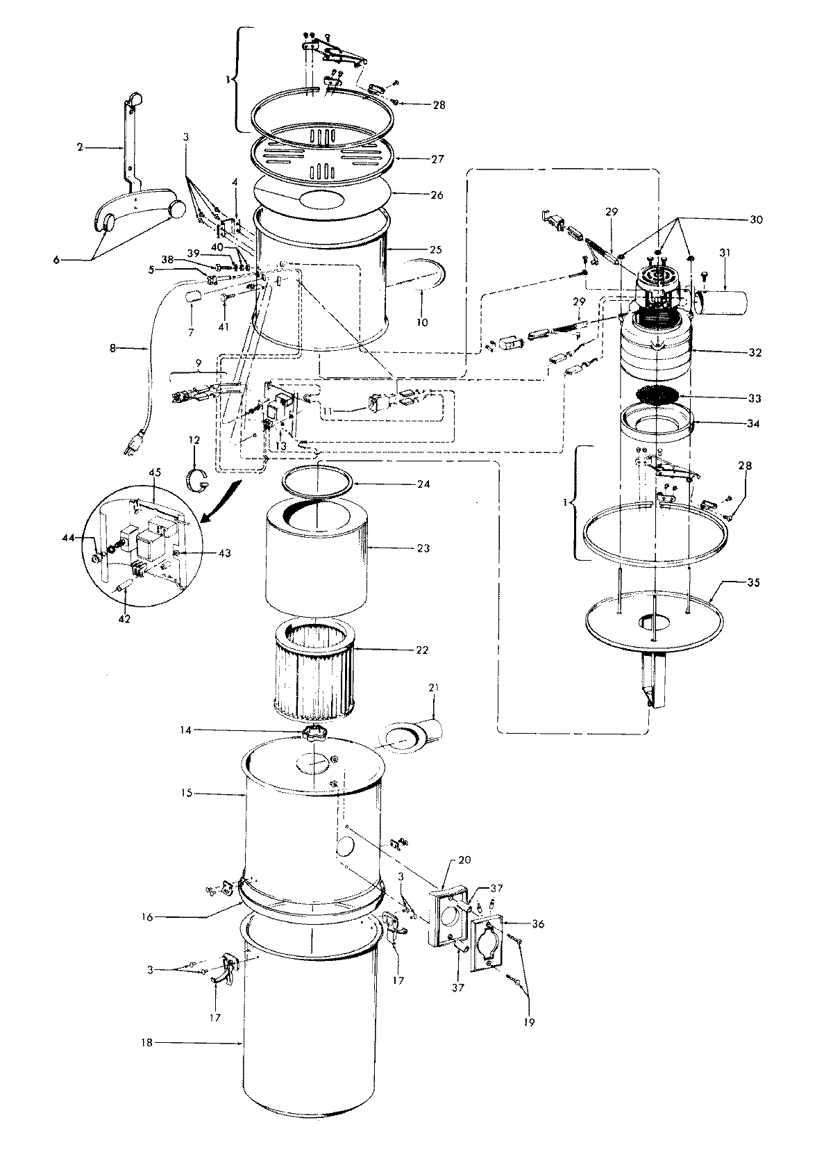
S5573— 02 – MAINHOUSING, MOTOR ASSEMBLYadmin2025-04-26T08:52:48+00:00S5573— 02 – MAINHOUSING, MOTOR ASSEMBLY ProductsPositionProduct1MAY 411290332MAY 419470113MAY 212561074MAY 347120035MAY 274821276MAY 311130117MAY 237625118MAY 465430259MAY 2772405011MAY 2816201412MAY 2747930713MAY 2713500413MAY 2713500814MAY 2371820615MAY 4361103216MAY 3878404617MAY 2371519118MAY 4364100719MAY 2177400720MAY 3514300121MAY 2543501022MAY 3876300623MAY 3719101824MAY 3878301125MAY 4219207026MAY 3876301727MAY 3876301128MAY 160508--29MAY 2729200230MAY 2137220331MAY 3174401132MAY 2721203133MAY 3576300534MAY 3878405035MAY 3878404235MAY 4142703536MAY 4352600537MAY 3174200838NOT REQUIRED PART OR SEE NOTE FUSE (NOT REQUIRED)39MAY 014856--40MAY 015854EF41MAY 2141601042MAY 3173300643MAY 037351--44MAY 31324001