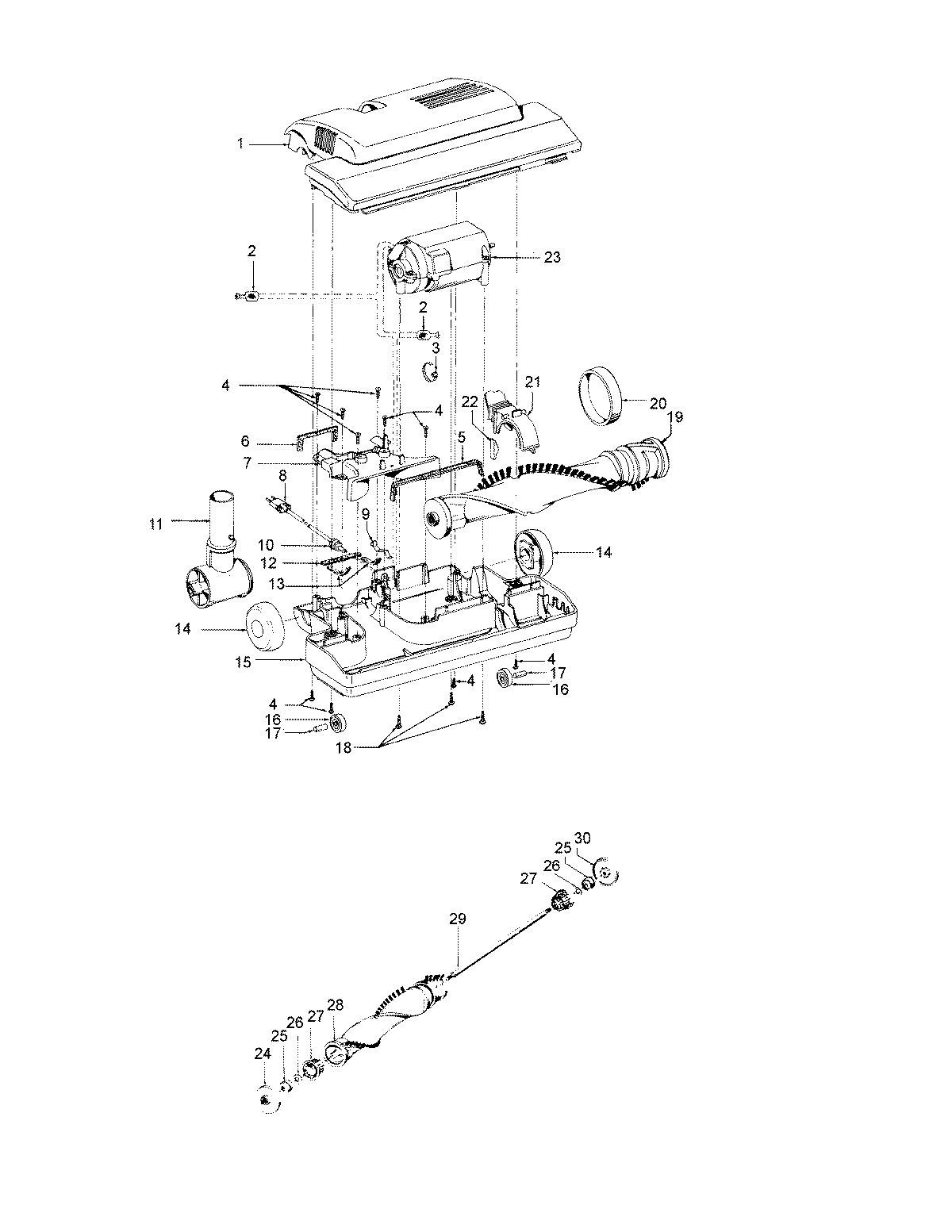
S5609— 02 – POWEREDNOZZLE, AGITATORadmin2025-04-26T08:52:25+00:00S5609— 02 – POWEREDNOZZLE, AGITATOR ProductsPositionProduct1MAY 372411382MAY 012227--3MAY 274793074MAY 214470035MAY 341230396MAY 342530187MAY 422561038MAY 463210889MAY 3527600810MAY 163768--11MAY 4348210612MAY 3411200713MAY 3412201414MAY 4324404315MAY 4224611516MAY 3276100117MAY 3152200418MAY 4843823518MAY 2147980120MAY 3852801121MAY 3692300822MAY 13261AY-23MAY 4317706224MAY 3642301625MAY 4326700226MAY 2134700327MAY 3642202228MAY 4841405129MAY 3272401330MAY 36423017