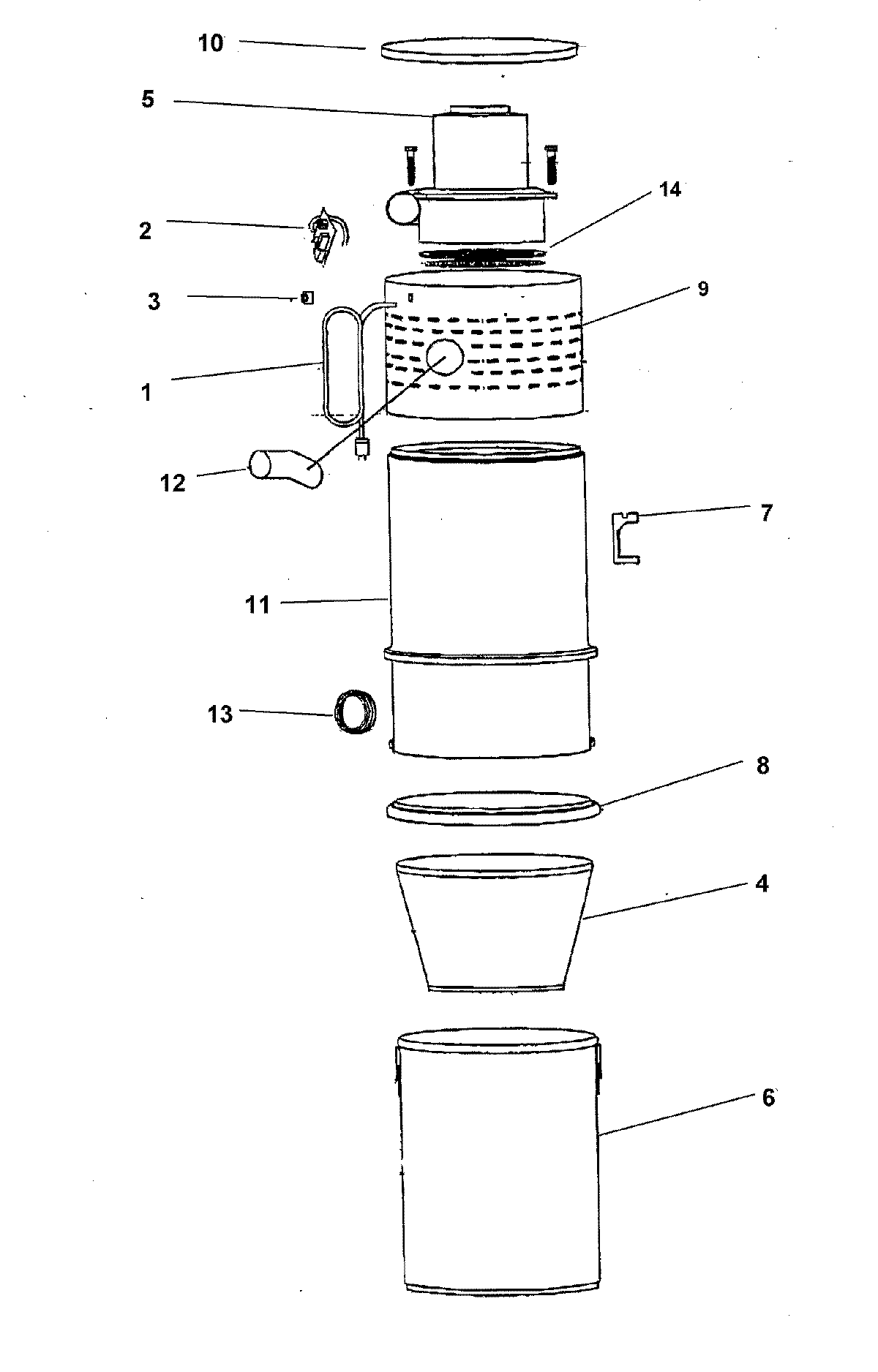
S5625— 01 – MAIN BODYadmin2025-04-26T08:52:40+00:00S5625— 01 – MAIN BODY ProductsPositionProduct1MAY 591320112MAY 591320063MAY 591320054MAY 930012055MAY 591320086MAY 930012077MAY 591320228MAY 591320239MAY 9300120910MAY 9300121111MAY 9300121312MAY 5913203813MAY 5913203914MAY 5913204015MAY 9300121715MAY 9300121816MAY 1009600216MAY 1009600116MAY 4352600716MAY 3868100616MAY 1009800116MAY 10129001