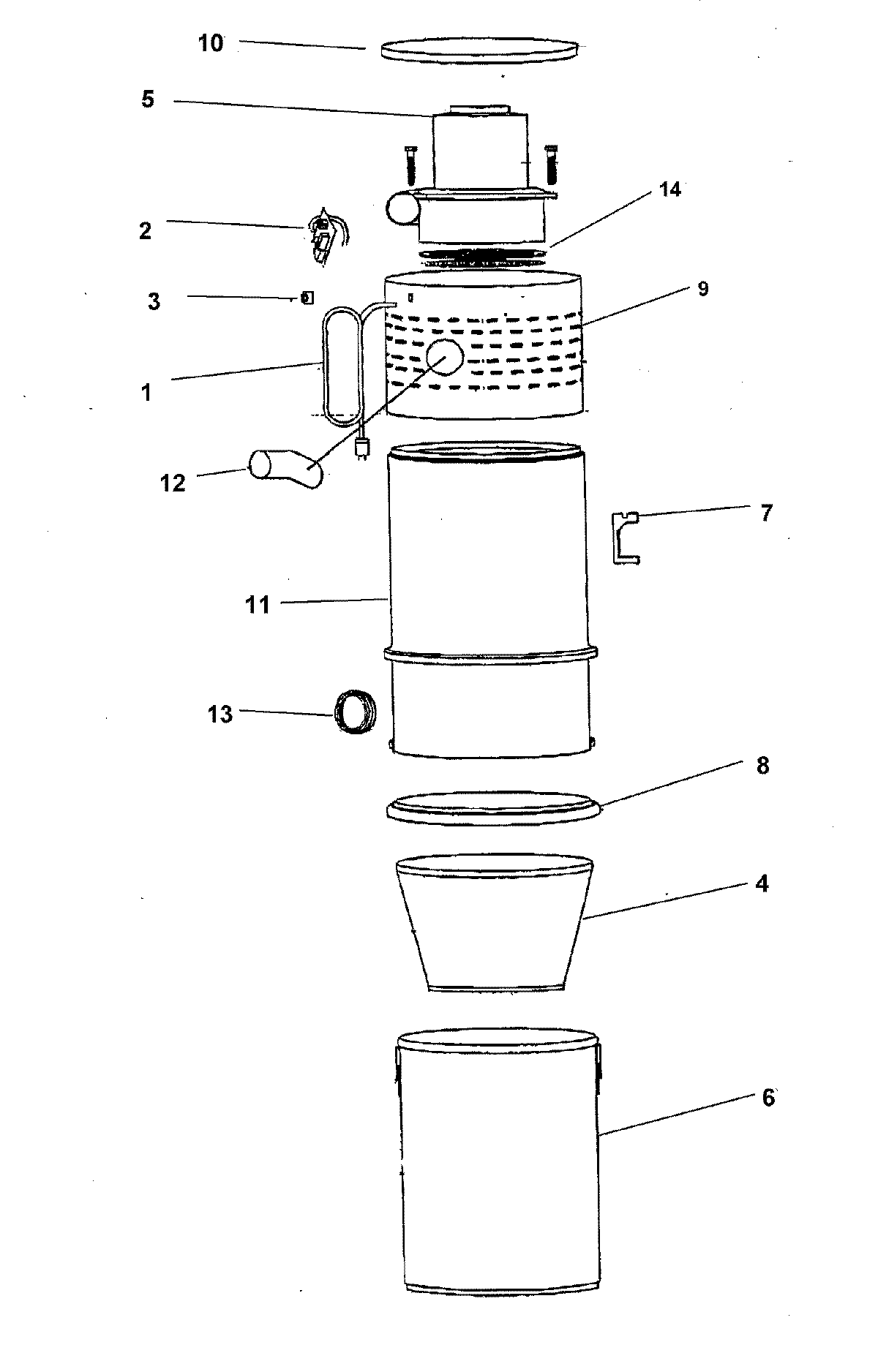
S5626— 01 – MAIN BODY