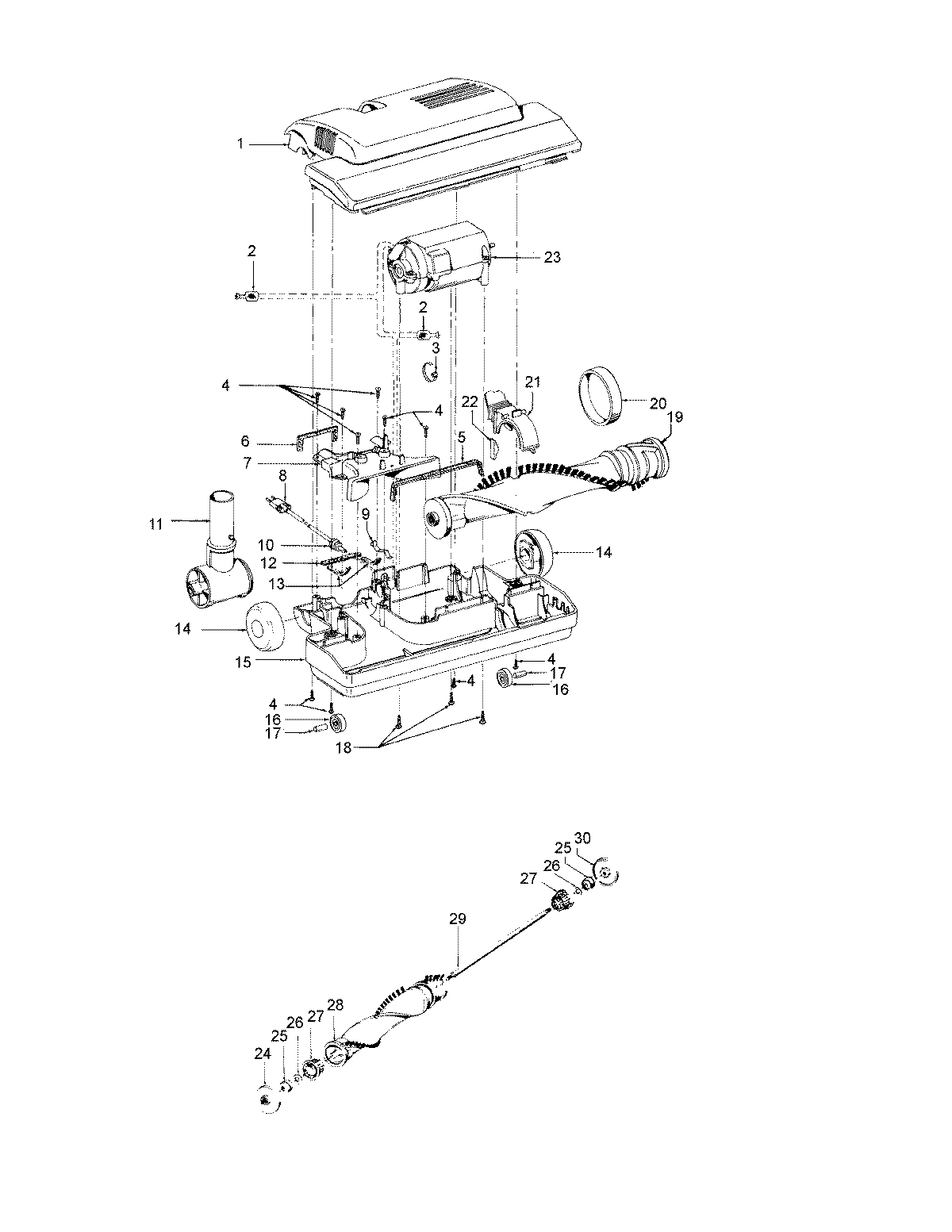
S5645— 03 – POWEREDNOZZLEadmin2025-04-26T08:52:59+00:00S5645— 03 – POWEREDNOZZLE ProductsPositionProduct1MAY 484382161MAY 372411381MAY 484382352MAY 012227--3MAY 274793074MAY 214470035MAY 341230396MAY 342530187MAY 422561038MAY 463210098MAY 463210059MAY 3527600810MAY 163768--11MAY 4348210612MAY 3411200713MAY 3412201414MAY 4324404315MAY 4224611516MAY 3276100117MAY 3152200418MAY 2147980120MAY 3852801121MAY 3692300822MAY 13261AY-23MAY 2721201123MAY 4317706224MAY 4841405124MAY 3642301625MAY 4326700226MAY 2134700327MAY 3642202228MAY 4841405029MAY 32724013