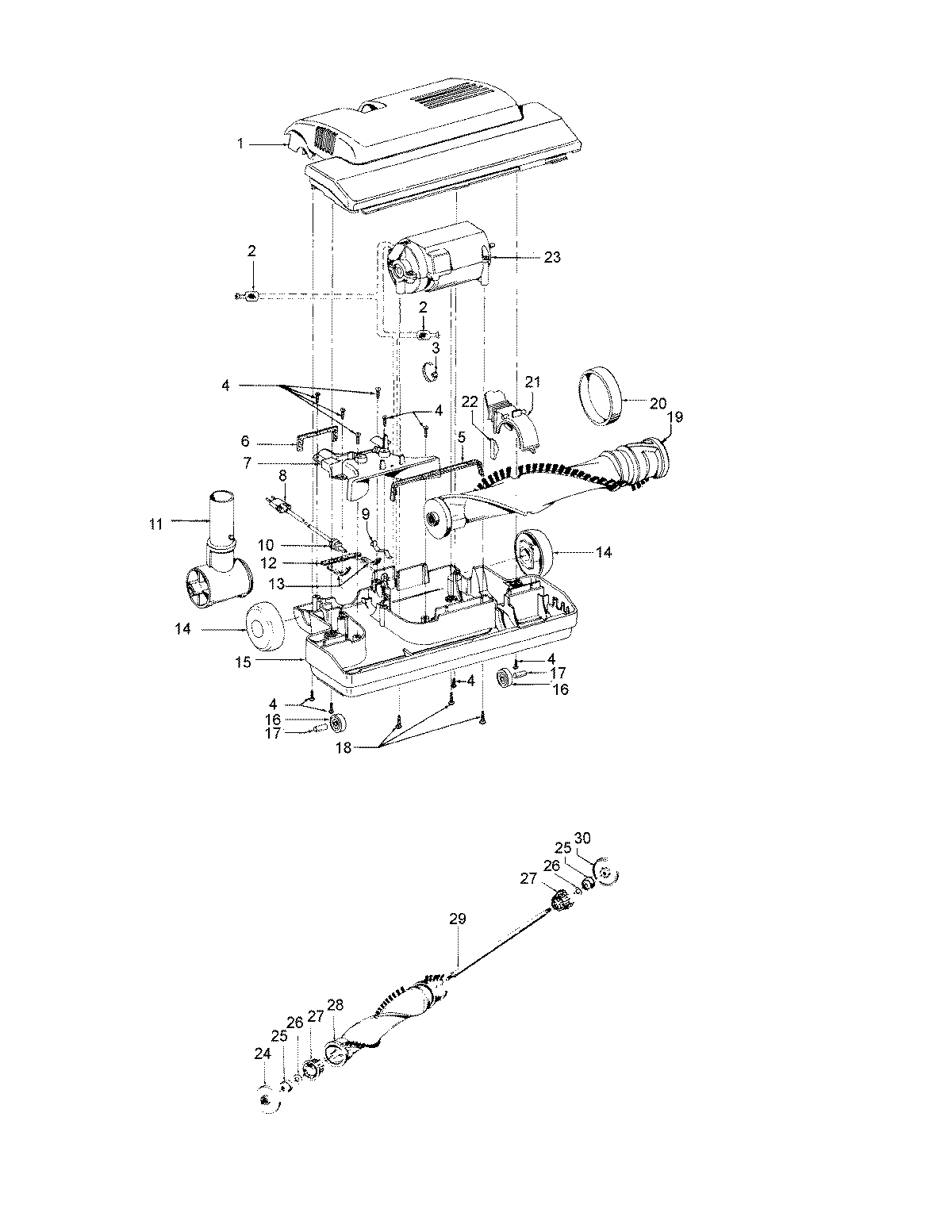
S5680— 02 – POWEREDNOZZLE, AGITATOR