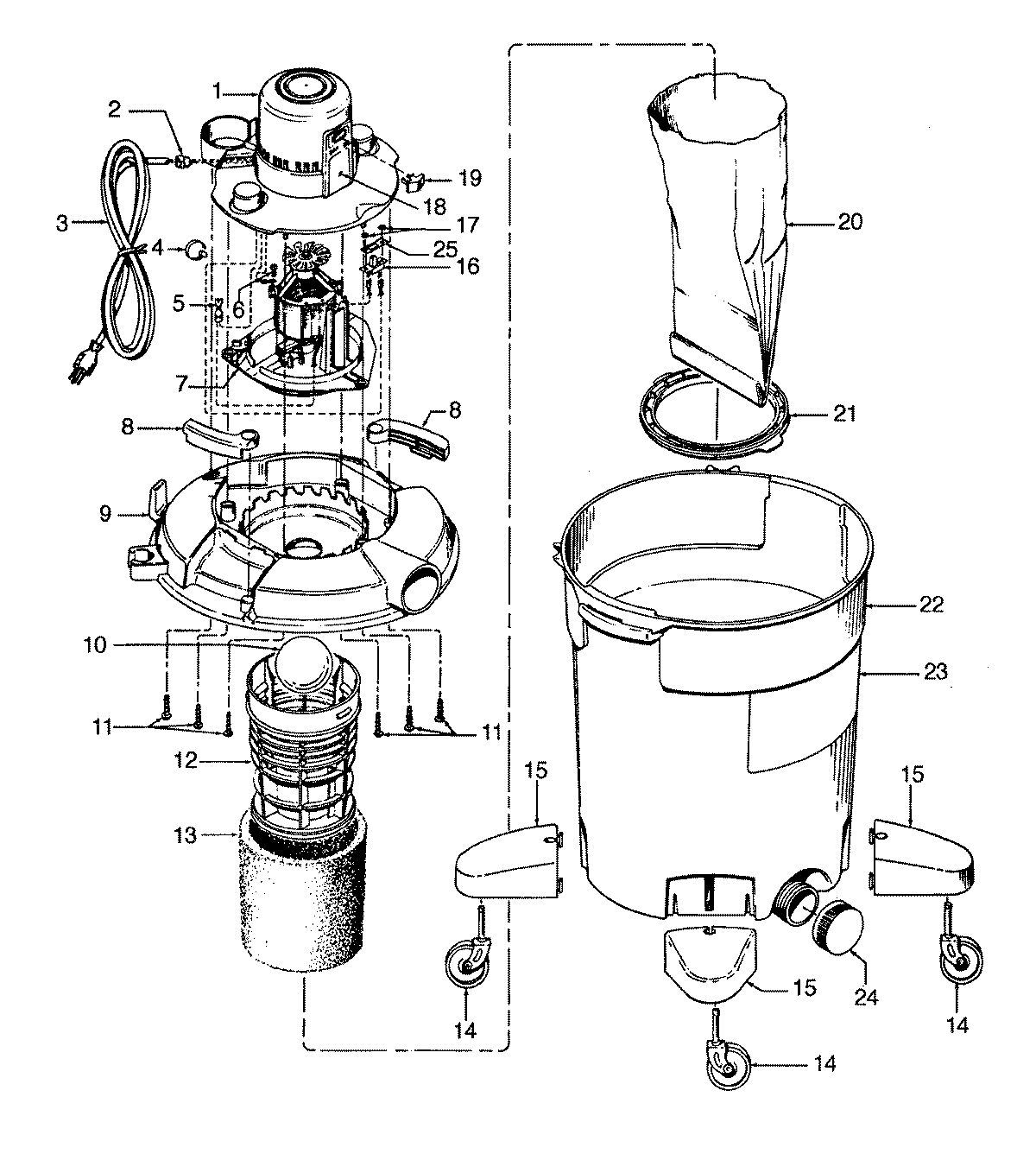
S6545600 02 – MAINHOUSING, MOTOR ASSEMBLYadmin2025-04-26T08:52:39+00:00S6545600 02 – MAINHOUSING, MOTOR ASSEMBLY ProductsPositionProduct1MAY 372320141MAY 372320162MAY 274821453MAY 465430064MAY 274793075MAY 012227--6MAY 214472407MAY 435730157MAY 435730237MAY 435730188MAY 361530519MAY 3723202010MAY 2566101511MAY 2144707212MAY 3642602613MAY 4020300114MAY 2373711215MAY 3643204216MAY 2817702817MAY 2136410718NOT REQUIRED PART OR SEE NOTE FUSE (NOT REQUIRED)19MAY 3842100420MAY 4010074X21MAY 3642602322MAY 3877704322MAY 3877705122MAY 3877700524MAY 3791100825MAY 4361100925MAY 3412700426MAY 5651400526MAY 5651401828MAY 3861500828MAY 3951200628MAY 3861402928MAY 3863407828MAY 4343403428MAY 38617024996MAY 34123045996MAY 21447215996MAY 27618508