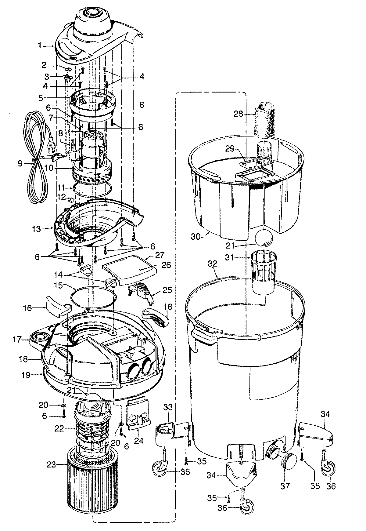
S6760600 02 – MAINHOUSING, MOTOR ASSEMBLYadmin2025-04-26T08:53:20+00:00S6760600 02 – MAINHOUSING, MOTOR ASSEMBLY ProductsPositionProduct1MAY 374710011MAY 374710042MAY 384210202MAY 384210442MAY 384210433MAY 281770304MAY 214553255MAY 363220096MAY 214470727MAY 214472408MAY 012227--9MAY 465430089MAY 4654300710MAY 2722200410MAY 2722200511MAY 3878103312MAY 3691302113MAY 3747100313MAY 3747100214MAY 3615202214MAY 3615202115MAY 3878103416MAY 3615305716MAY 3615305117MAY 3643309118MAY 4223202618MAY 4223203318MAY 4223202819MAY 3878103519MAY 3412304620MAY 2131279721MAY 2566101522MAY 3642602623MAY 4361100924MAY 3723800624MAY 3723800526MAY 5163915826MAY 5166907326MAY 5168903727NOT REQUIRED PART OR SEE NOTE FUSE (NOT REQUIRED)28MAY 4361104029MAY 3878300230MAY 4364102231MAY 3871902632MAY 3877701432MAY 3877702332MAY 3877704732MAY 3877701332MAY 3877705533MAY 3643204634MAY 3643204235MAY 2144721536MAY 2373711237MAY 3791101037MAY 3791100838MAY 5651402038MAY 5651401338MAY 5828601438MAY 5836609538MAY 5828601040MAY 3861500940MAY 3228300240MAY 4343400440MAY 3861402740MAY 3861901640MAY 3863803240MAY 3951200640MAY 3863407840MAY 4343403440MAY 3861702440MAY 4341414540MAY 3861402940MAY 38615008996MAY 27618508