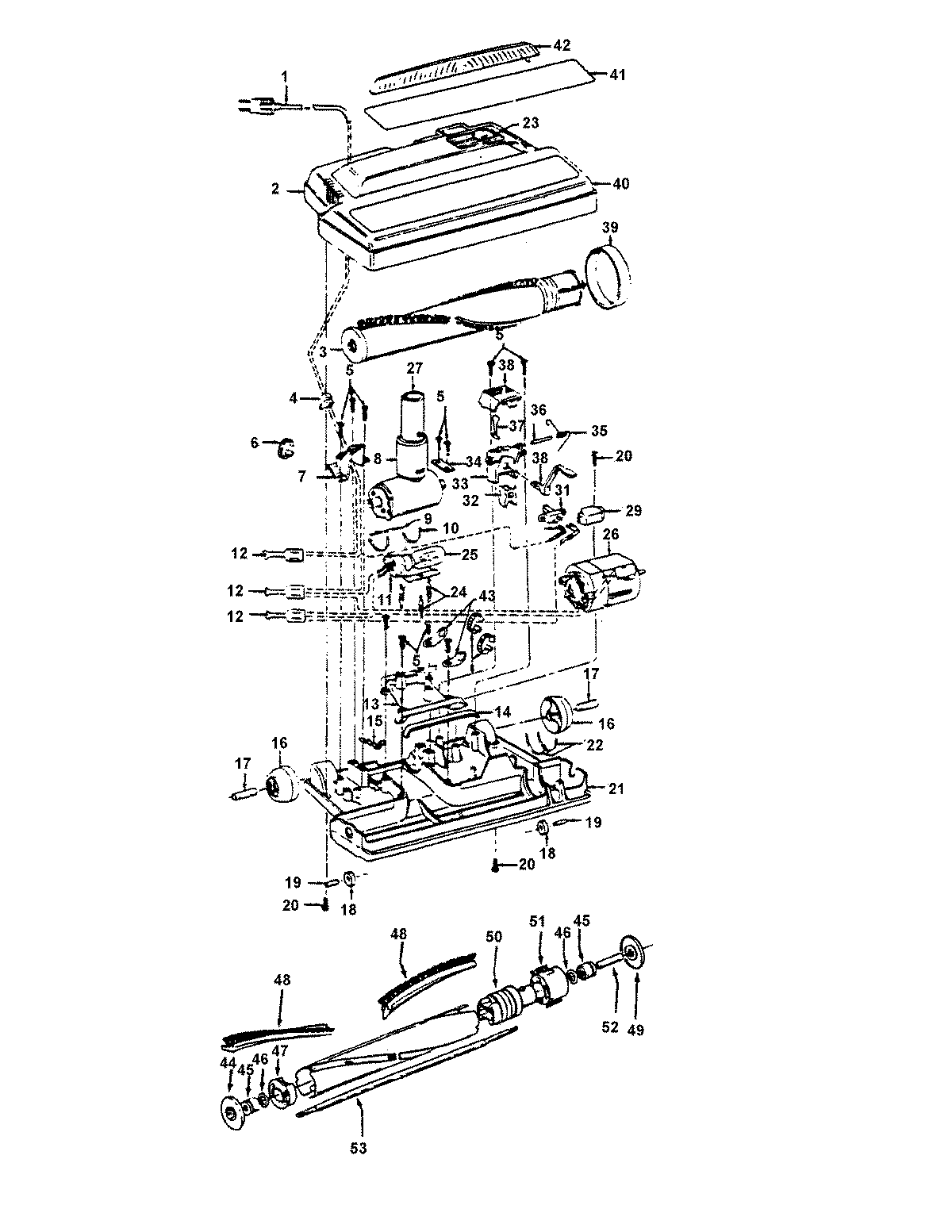
S8149— 02 – POWEREDNOZZLE, AGITATORadmin2025-04-26T08:52:44+00:00S8149— 02 – POWEREDNOZZLE, AGITATOR ProductsPositionProduct1MAY 463210091MAY 484382262MAY 362311172MAY 362310964MAY 163768--5MAY 214470416MAY 274793077MAY 361310678MAY 434610219MAY 3411200510MAY 3433700311MAY 4717100912MAY 018972--13MAY 4225609814MAY 3412301715MAY 3527600116MAY 3217502517MAY 3152300518MAY 3276100119MAY 3152200420MAY 2144700721MAY 4224612122MAY 3437801022MAY 3433700423MAY 5186501824MAY 3621801625MAY 2731730726MAY 4317707327MAY 4345703728MAY 2766670229MAY 3725808230MAY 281770KD31MAY 5115105332MAY 3436100133MAY 4226203234MAY 3613101735MAY 3835300736MAY 3152300637MAY 3845800238MAY 3843306738MAY 3843304239MAY 3852801140MAY 4225218741MAY 5212513042MAY 3938306043MAY 045517--44MAY 4841603044MAY 48495AY-45MAY 4326700246MAY 2134700347MAY 3642200148MAY 4844501749MAY 4143501850MAY 3853700851MAY 4841800152MAY 3172201953MAY 3272400553MAY 2761850853MAY 13261AY-