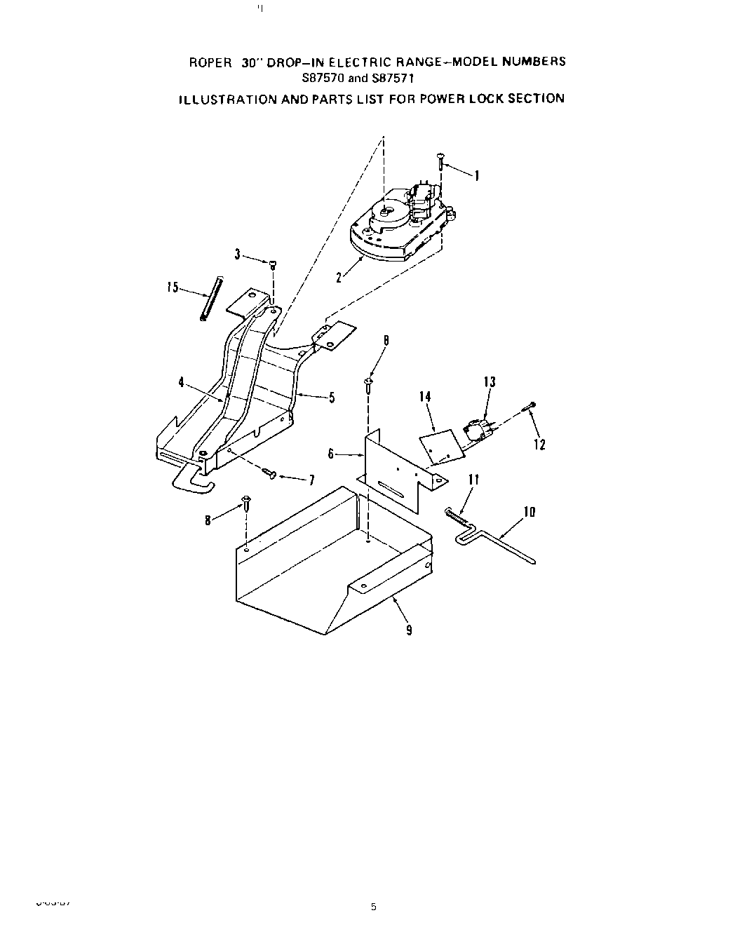
S8757^0 04 – TOP BURNERadmin2025-04-26T11:20:35+00:00S8757^0 04 – TOP BURNER ProductsPositionProduct1Screw 8 - 32 x 8502Lock Motor Asm3WPL 2321834Lock Lever Asm5Door Lock Plate6Door Switch Bracket7Screw-10-32x1/2``8Screw 10-16x7/16``9Lock Box10Switch Actuator Pin11Spring12Screw 4-40x11/16``13Micro Switch14Insulator-Switch (3 Req)15Lock Spring