SB160PEDQ0 02 – CONTROL PANELadmin2025-04-26T11:19:35+00:00SB160PEDQ0 02 – CONTROL PANEL
Products
| Position | Product |
|---|
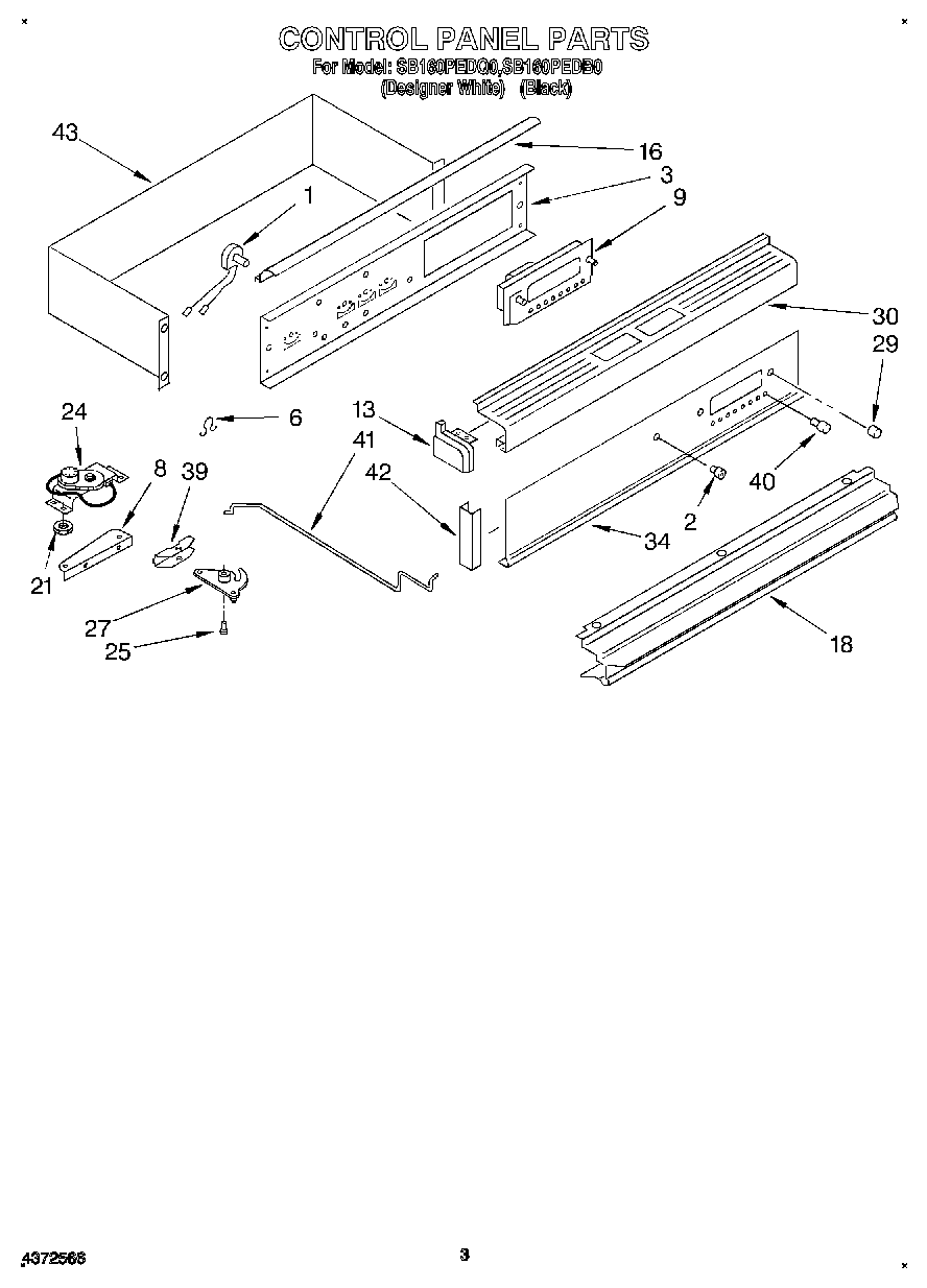
| 1 | Switch, Oven Light |
| 1 | Switch, Oven Light (White) |
| 2 | Bezel, Switch |
| 2 | Bezel, Switch (White) |
| 3 | Plate, Instrument Mtg. |
| 6 | Fastener, Wire |
| 8 | Base, Latch Motor |
| 9 | Clock/Oven Control |
| 9 | Nut, 6-32 (6) |
| 9 | Screw, No.6x32x1/2 |
| 13 | Endcap (Left Hand) |
| 13 | Endcap (Right Hand) |
| 13 | End Cap (White LH) |
| 13 | End Cap White (Right Side) |
| 16 | Deflector, Heat (White) |
| 16 | Deflector, Heat (Black) |
| 16 | Deflector, Heat (Screw, No.6x18x1/4 (3)) |
| 18 | Trim, Center Vent (White) |
| 18 | Trim, Center Vent (Black) |
| 21 | W10080180 Whirlpool Nut |
| 24 | Screw, 10-24 x 3/8 (2) |
| 24 | Motor, Lock |
| 25 | Stud, Latch |
| 27 | Lever, Lock |
| 29 | Knob, Clock (White) |
| 29 | Knob, Clock (Black) |
| 30 | Trim, Top (Black) |
| 30 | Trim, Top (Screw, No.6x32x1/2 (6)) |
| 30 | Trim, Top (White) |
| 34 | Panel, Control (White) |
| 34 | Panel, Control (Black) |
| 39 | Housing, Latch |
| 40 | Button, Control (9) (White) |
| 40 | Button, Control (9) (Black) |
| 41 | Rod, Latch Support |
| 42 | Trim, Control Panel (2) (Black) |
| 42 | Trim, Control Panel (2) (White) |
| 43 | Screw, 8-22 (5) |
| 43 | Shield, Controls |