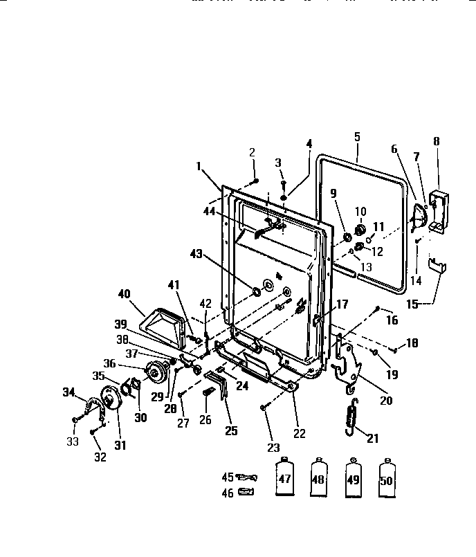
SC560JXD2 03 – INNER PANEL & COMPONENTS