SC8430SRW2 02 – BURNER BOXadmin2025-04-26T11:21:09+00:00SC8430SRW2 02 – BURNER BOX
Products
| Position | Product |
|---|
| List, Repair Parts |
| Guide, Use & Care |
| Instruction, Installation |
| Guide, Cooking |
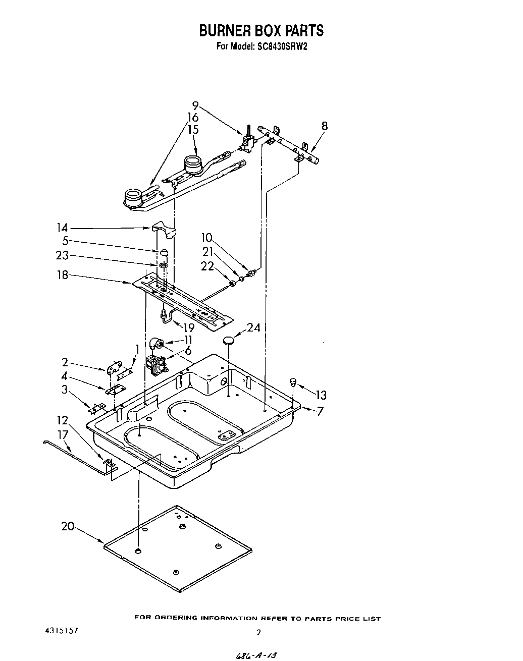
| 1 | Plate, Hinge (2) |
| 2 | Hinge, Cooktop (2) |
| 3 | Nut, Hinge (2) |
| 4 | Hinge, Burner Box (2) |
| 5 | Cone (2) |
| 6 | Pressure Regulator |
| 7 | Burner Box |
| 8 | Pipe, Manifold |
| 9 | Valve, Burner (4) |
| 10 | Filter, Pilot (2) |
| 11 | Elbow |
| 12 | Clamp, Rod |
| 13 | Bumper (4) |
| 14 | Shield, Pilot (2) |
| 15 | Burner R.H. (2) |
| 16 | Burner L.H. (2) |
| 17 | Rod, Support |
| 18 | Support, Burner |
| 19 | Tubing, Pilot (2) |
| 20 | Shield, Bottom |
| 21 | Sleeve, Tubing (2) |
| 22 | Nut (2) |
| 23 | Nut (4) |
| 24 | Plug, Hole (2) |