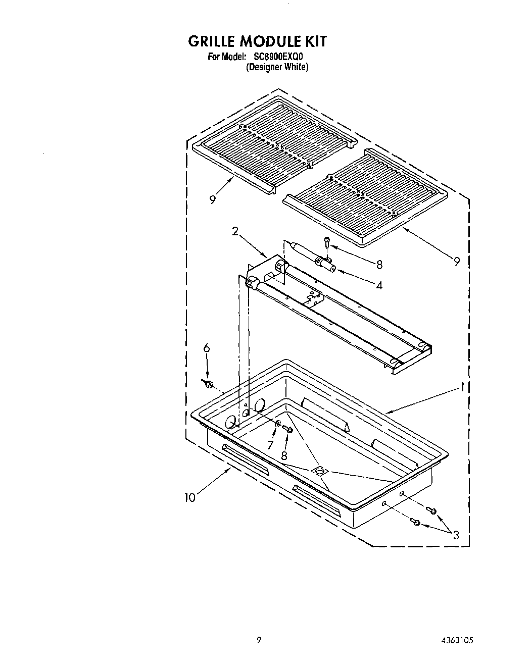
SC8900EXQ0 07 – GRILLE MODULE KIT