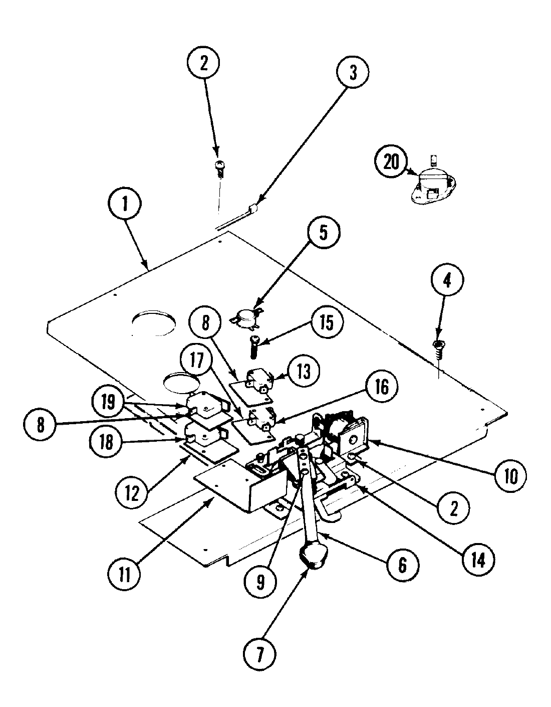
SCE4320W 07 – INTERNAL CONTROLSadmin2025-04-26T09:33:12+00:00SCE4320W 07 – INTERNAL CONTROLS ProductsPositionProduct1MAY 7046682WP90767 Whirlpool Screw3MAY 7016784WP12990527 Whirlpool Microwave Screw5MAY Y7025486MAY Y7038487MAY 7044607MAY 7016718MAY 70326410MAY Y70252611MAY 70170612MAY 70269712MAY Y70168613MAY Y70373214MAY Y70335715MAY 70280716MAY Y70236017MAY 70375017MAY Y70235018MAY Y70475219MAY 702806