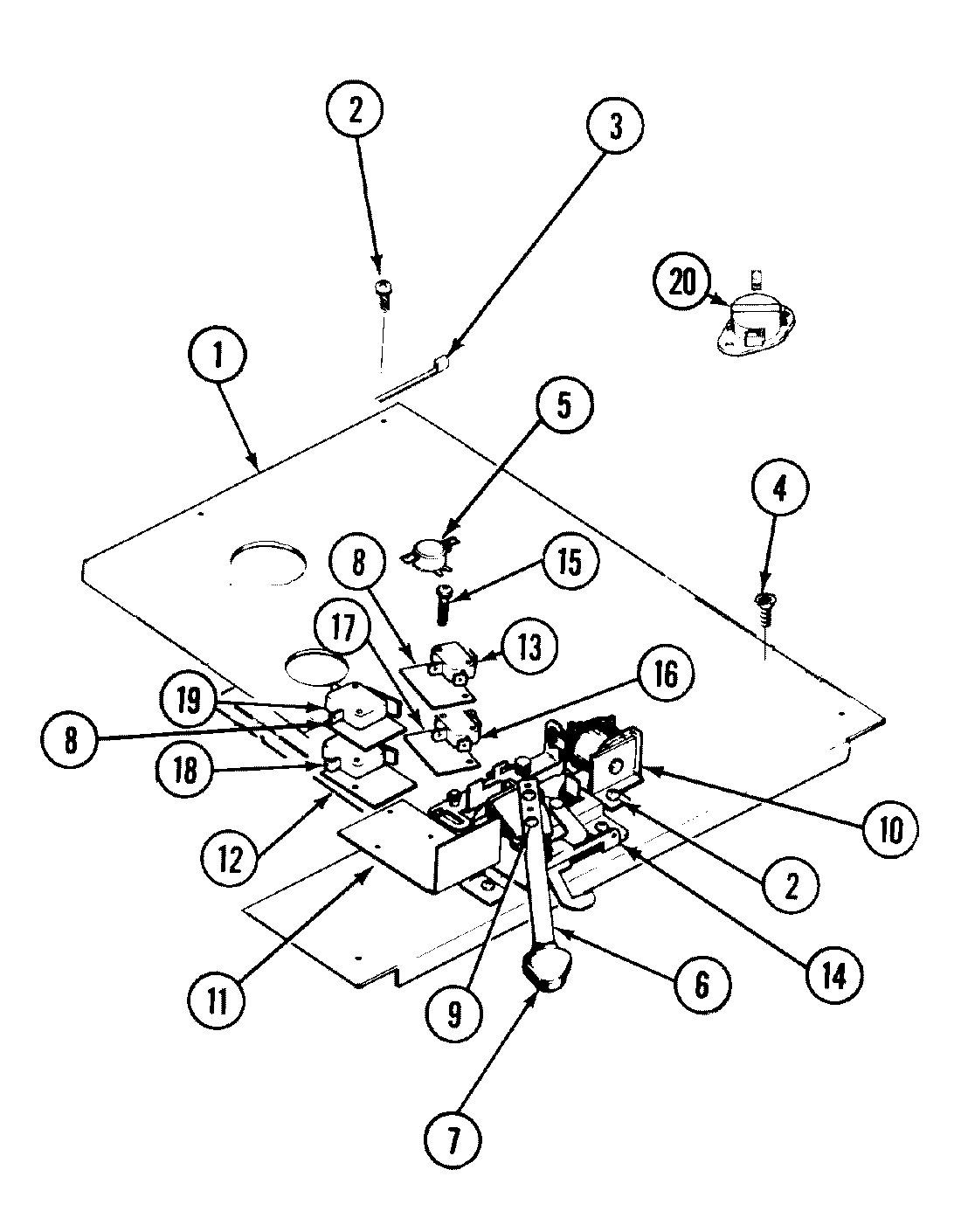
SCE4340B 07 – INTERNAL CONTROLSadmin2025-04-26T09:34:21+00:00SCE4340B 07 – INTERNAL CONTROLS ProductsPositionProduct1MAY 7046682WP90767 Whirlpool Screw3MAY 7016784WP12990527 Whirlpool Microwave Screw5MAY Y7025486MAY Y7042277MAY Y7039327MAY 7016718MAY 70326410MAY Y70252611MAY 70170612MAY Y70168612MAY 70269713MAY Y70373214MAY Y70335715MAY 70280716MAY Y70236017MAY 70375017MAY Y70235018MAY Y70475219MAY 702806