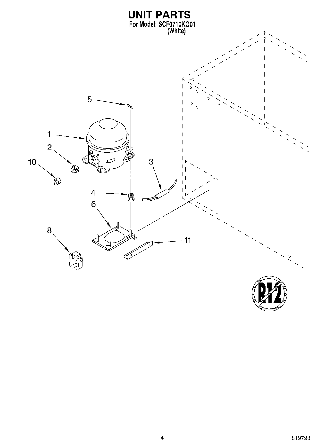
SCF0710KQ01 03 – UNIT