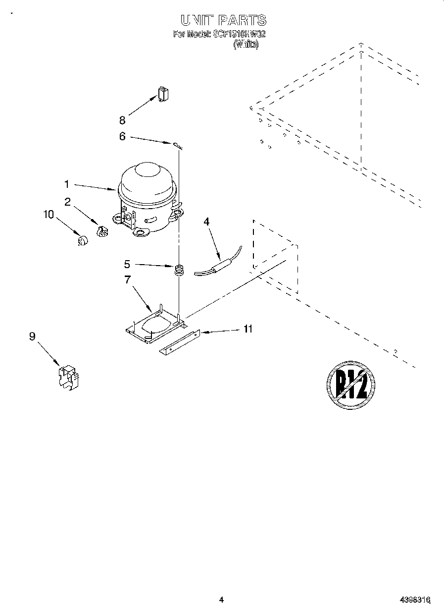
SCF1510HW02 03 – UNITadmin2025-04-26T11:21:40+00:00SCF1510HW02 03 – UNIT ProductsPositionProduct1Compressor (Includes Items 2, 3, 4, 5, 6 & 9)2Relay4W10843121 Whirlpool Refrigerator Tube5Grommet, Mounting Compressor6Clip, Hitch Pin7Base, Compressor8Capacitor9Cover10Overload113-81556-001 Whirlpool Brace