SE950PERW9 07 – UPPER OVEN EXTERNALadmin2025-04-26T12:52:52+00:00SE950PERW9 07 – UPPER OVEN EXTERNAL
Products
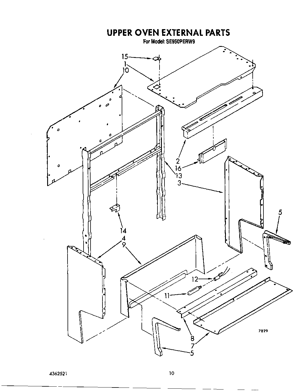
| Position | Product |
|---|
| 1 | Panel, Top |
| 2 | Trim, Top |
| 3 | Panel, Side (R.H.) (White) |
| 3 | Panel, Side (R.H.) (Almond) |
| 4 | Panel, Side (L.H) (White) |
| 4 | Panel, Side (L.H) (Almond) |
| 5 | Support, Side Panel (R.H.) |
| 5 | Support, Side Panel (L.H.) |
| 7 | Panel, Bottom |
| 8 | Reflector, Light |
| 9 | Backsplash (White) |
| 9 | Backsplash (Almond) |
| 10 | Panel, Rear Upper |
| 11 | Bulb |
| 12 | Socket |
| 13 | Support, Frame |
| 14 | Bracket, Fitting |
| 15 | Cover, Receptacle |
| 16 | Flue, Cover |